자동차 제조사들이 선보이는 특허 기술은 종종 흥미롭고 때로는 기묘하다. 이번에 GM이 제출한 특허 역시 기존의 상식을 뒤엎는 새로운 차원의 기술로 주목받고 있다. GM은 '자동 입체 캠프파이어 디스플레이(Autostereoscopic Campfire Display)'라는 이름의 특허를 통해 차량 내 승객들에게 입체 홀로그램을 직접 눈으로 투사하는 기술을 소개했다.
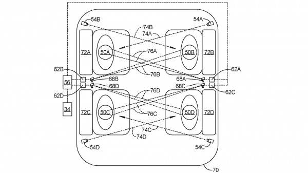
이 특허의 핵심은 단순한 홀로그램 기술을 넘어선다. GM은 복잡한 투사 시스템을 이용해 이미지를 승객의 눈동자에 직접 투사하는 방식을 고안했다. 특허는 이 기술이 승객의 눈 위치를 추적하는 시스템과 공간광변조기(SLM), 이미지 생성 유닛, 빔 조절 장치 등의 조합으로 구현된다고 설명한다. 이를 통해 각 승객의 눈에 3D 이미지를 투영하고 서로 다른 이미지까지도 개별적으로 표시할 수 있다.

특허 신청서에는 총 16페이지에 걸쳐 이 시스템의 작동 방식을 상세히 다뤘다. 주요 기술은 승객의 눈동자를 실시간으로 추적해 빔 조절 장치가 이미지를 정확히 투사한다. 한 사람의 두 개의 눈에 미세하게 다른 이미지를 투사해 깊이감 있는 3D 효과를 만들어낸다.
이 기술은 마치 특정 각도에서 3D 메시지를 보여주는 입체 퍼즐과 유사하다. 특허는 다양한 시나리오를 언급하며 거의 동일하거나 완전히 다른 이미지를 투사할 수 있는 가능성을 제시한다. 특히 이 모든 과정은 30Hz 이상의 주파수에서 이루어져야 한다. 이는 인간의 눈이 깜박임을 감지하지 못하고 2D 이미지를 3D로 인식하는 주파수 범위다.

특허 제목에는 '캠프파이어'라는 표현이 등장하지만, 기술 설명 어디에도 캠프파이어에 대한 구체적인 언급은 없다. 다만 GM이 이를 예로 든 이유는 이 기술이 타오르는 캠프파이어처럼 이미지를 입체감 있게 변환한다는 점을 강조하기 위함으로 보인다.
이 기술이 엔터테인먼트를 넘어 내비게이션 시스템에도 적용될 가능성도 커 보인다. 예컨대 조수석의 탑승자에게는 영화를 투사시키고 운전자의 시야에는 경로 안내를 홀로그램으로 표시할 수 있을 것으로 기대된다.

이 기술이 실제 차량에서 구현되는 데는 시간이 걸릴 전망이다. GM은 앞으로 자율주행 레벨 4, 5 수준의 고급차에 도입 가능성을 언급하고 있다. 이는 차량이 완전 자율주행 상태에서만 해당 특허가 적용될 수 있다는 뜻이다. 따라서 이 특허가 상용화되려면 특허에 관한 기술적 진보와 더불어 자율주행 시스템의 발전이 선행되어야 할 것이다.

GM이 제안한 이 독특한 특허는 미래 차량 내 엔터테인먼트 기술의 잠재력을 보여준다. 이는 단순히 상상의 영역을 넘어 자동차 내부를 완전히 새로운 경험의 공간으로 탈바꿈시킬 가능성을 시사한 셈이다.
김태원 에디터 tw.kim@carguy.kr
Copyright © 카가이 모든 콘텐츠(영상,기사, 사진)는 저작권법의 보호를 받은바, 무단 전재와 복사, 배포 등을 금합니다.