
제네럴모터스(이하 GM)가 열선 및 통풍 기능을 내장한 안전벨트에 대한 특원을 출원했다. 무엇보다 자동차는 영하 약 17℃에서 영상 38℃가 넘는 온도 범위에서 작동하기 때문에 열 관리는 중요한 사안이다.
열선 안전벨트는 이미 포드에서 최초로 특허를 출원한 바 있다. 직물에 발열체를 직조한 방식이었다. 1년 후 테슬라는 벨트를 포함한 모든 형태의 용기에 주입할 수 있는 가열 액체에 대한 특허를 출원했다.

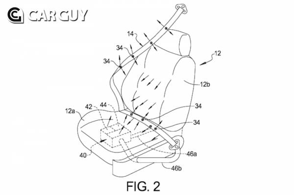
GM이 선택한 방식은 기존 포드와 테슬라가 제시한 방식과는 다르다. 특허 출원 내용을 보면 GM의 열선·통풍 안전벨트는 기존 공조 시스템과 다공성 슬리브를 내장한 안전벨트로 구성된다. 공조 시스템의 활용성을 높이기 위해 열선·통풍 시트도 포함한다.
작동 방식은 간단하다. 탑승자가 선택한 온도에 맞춰 다공성 슬리브에 공기가 공급되는 방식이다. 실내 온도를 설정한 온도로 유지할 수 있을 뿐만 아니라 안전벨트가 탑승객의 몸에 닿아 냉난방을 직접적으로 느낄 수 있다.

다공성 슬리브는 발열체나 가열 액체를 사용하고자 하는 이전 특허에 대한 한계점도 해결했다. 발열체나 가열 액체는 벨트에 내장되어 가슴과 무릎 등 벨트와 몸이 닿는 부위에만 한정적으로 난방을 공급한다.
다공성 슬리브의 경우, 공조 시스템으로부터 공급된 공기를 내뿜는 방식이라 더 넓은 신체 부위에 직접적인 난방을 공급할 수 있을 뿐만 아니라 냉방도 공급할 수 있다는 이점이 있다.
특허 스케치에서 확인할 수 있듯, 온도 조절기는 다공성 슬리브에 영구적으로 연결되어 있다. 안전벨트의 버클을 방해하지 않는다. 업계는 이를 구현하는 데 있어 가장 어려운 부분은 다공성 안전벨트를 대량으로 생산할 수 있는 공급업체를 찾는 일이라고 보고 있다.
이에 따라 GM의 다공성 안전벨트는 캐딜락 에스컬레이드, 셀레스틱과 같은 고급 모델에 우선 적용될 가능성이 높다.
서동민 에디터 dm.seo@carguy.kr
Copyright © 카가이 모든 콘텐츠(영상,기사, 사진)는 저작권법의 보호를 받은바, 무단 전재와 복사, 배포 등을 금합니다.