삼성, 힌지 달린 '접는 스마트폰' 특허 출원
전체 맥락을 이해하기 위해서는 본문 보기를 권장합니다.
삼성전자가 이번엔 힌지가 달린 폴더블 스마트폰 특허를 출원했다.
IT매체 폰아레나는 삼성전자가 ‘플렉서블 디스플레이를 갖춘 전자 장치’라는 이름의 폴더블 스마트폰 특허를 미국 특허청에 출원했다고 최근 보도했다.
그 동안 삼성전자는 폴더블 스마트폰과 관련한 특허를 꾸준히 출원해왔다.
이는 삼성전자의 폴더블 스마트폰에 대한 관심을 보여주고 있다.
이 글자크기로 변경됩니다.
(예시) 가장 빠른 뉴스가 있고 다양한 정보, 쌍방향 소통이 숨쉬는 다음뉴스를 만나보세요. 다음뉴스는 국내외 주요이슈와 실시간 속보, 문화생활 및 다양한 분야의 뉴스를 입체적으로 전달하고 있습니다.
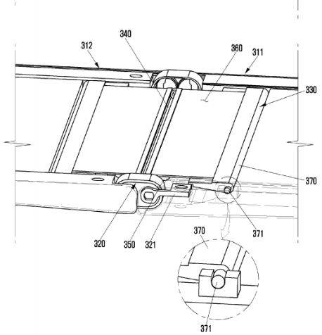
(지디넷코리아=이정현 미디어연구소)삼성전자가 이번엔 힌지가 달린 폴더블 스마트폰 특허를 출원했다.
IT매체 폰아레나는 삼성전자가 ‘플렉서블 디스플레이를 갖춘 전자 장치’라는 이름의 폴더블 스마트폰 특허를 미국 특허청에 출원했다고 최근 보도했다.
이 특허는 삼성이 그동안 출원한 폴더블 스마트폰 특허와 달리 제품 중간에 힌지(hinge)를 사용해 책처럼 접을 수 있는 형태다. 이 디자인은 과거 플립폰에 쓰였던 방식과 비슷해 소비자에게 비교적 친숙한 방식이다.

이번에 공개된 힌지를 통해 책처럼 접을 수 있는 디자인은 반으로 접으면 보관 시 공간이 절약되는 반면, 사용하기 전에 매번 휴대전화를 펼쳐야 하는 번거로움이 있다. 하지만 화면을 접고 펼칠 수 있다면 필요할 때마다 화면 크기를 2배로 늘릴 수 있다는 장점이 있다. 때문에 멀티 플레이어 게임을 하거나 IT 시연 등의 분야에서 게임 체인저가 될 수도 있다고 포브스 등의 외신은 평했다.
그 동안 삼성전자는 폴더블 스마트폰과 관련한 특허를 꾸준히 출원해왔다. 이는 삼성전자의 폴더블 스마트폰에 대한 관심을 보여주고 있다. 시장에서는 삼성전자가 올해 3분기에 폴더블 스마트폰을 내놓을 것이라고 전망하고 있다. 삼성전자가 올 해 선보일 것으로 보이는 폴더블 스마트폰은 두 개의 스크린을 가진 형태로, 화면을 펼치면 태블릿으로, 접으면 휴대폰으로 사용할 수 있는 것으로 알려지고 있다.

이정현 미디어연구소(jh7253@zdnet.co.kr)
Copyright © 지디넷코리아. 무단전재 및 재배포 금지.