애플도 '카툭튀' 없앤 폴디드줌 특허 등록.. 2억대 부품 공급 잃은 삼성
삼성전기 부품 활용할 가능성 높았으나
애플 특허 등록으로 공급망 탈락
애플이 ‘카툭튀(카메라가 툭 튀어나옴)’를 해결하기 위한 폴디드줌 카메라 모듈 특허를 최근 등록했다. 애초 관련 특허 대부분을 갖고 있는 삼성이 애플 공급망에 들어갈 것으로 여겨졌지만, 애플이 독자 특허를 등록하면서 삼성은 공급망에서 최종 탈락하게 됐다. 애플은 이르면 2022년 출시할 아이폰14(가칭)에 폴디드줌을 적용할 예정이다.
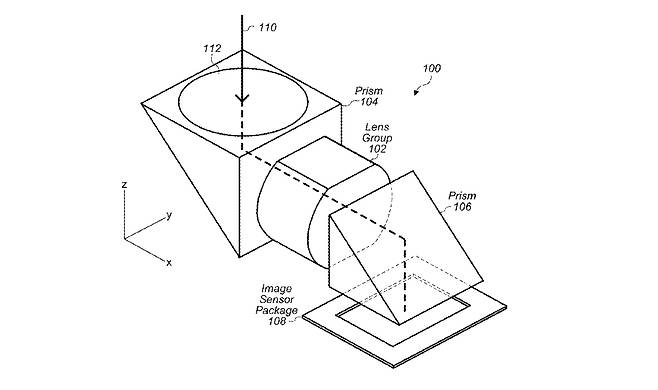
10일 전자업계에 따르면 애플은 최근 미국 특허청(USIPO) 등에 ‘광학 이동을 위한 엑추에이터(구동계)를 가진 폴디드 카메라’ 특허를 등록(특허번호: US 11,092,773 B2)했다. 애플 특허는 카메라에 하나 이상의 렌즈를 사용하고, 빛의 경로를 굴절시키는 부품을 포함한다. 렌즈 이동을 위해 보이스 코일 모터(VCM) 액추에이터를 사용하고, 여러 안정장치 등을 넣는다.
폴디드줌 카메라란 잠망경 형태의 망원 카메라 모듈이다. 통상 스마트폰 카메라 모듈은 렌즈와 이미지센서를 세로로 배치하고 있다. 이 때문에 피사체를 확대하는 배율이 높아질수록 초점을 확보하기 위해 모듈이 두꺼워진다는 단점이 나타났다. 스마트폰에서 카메라와 기기 표면이 수평을 이루지 않고 툭 튀어나오는 건 이 때문이다.
폴디드줌 카메라는 빛이 들어오는 통로를 잠망경처럼 굴절시켜 초점거리를 확보한다. 렌즈와 이미지센서를 가로 배치하기 때문에 카메라 모듈을 두껍게 하지 않아도 충분한 광학 줌 성능을 확보할 수 있다. 카툭튀를 완전히 없애기는 어렵지만 최소화하는 것은 가능하다는 이야기다.

삼성전자와 중국 화웨이, 오포, 샤오미 등이 폴디드줌 카메라를 이미 적용하고 있다. 특히 삼성전자의 경우 삼성전기가 개발한 폴디드줌 카메라를 갤럭시S20 울트라에 적용해 100배 줌을 구현했다.
업계는 계속 얇아지는 스마트폰 디자인 트렌드에서 폴디드줌 카메라 적용은 필연적으로 보고 있다. 애플도 특허 등록에 앞서 2022~2023년 출시할 스마트폰에 폴디드줌을 채용할 계획을 세웠다. 하지만 특허 문제로 이같은 계획은 실현이 어려운 것 아니냐는 전망이 나오기도 했다.
폴디드줌 관련 특허는 삼성전자가 지난 2019년 인수한 이스라엘 기업 코어포토닉스가 선점하고 있고, 삼성전자 공급망에 들어가 있는 삼성전기, 자화전자 등이 폴디드줌에 필요한 구동계(액추에이터) 특허를 함께 갖고 있다.
이 때문에 애플이 폴디드줌 카메라를 적용하려면 삼성전기에서 부품을 공급 받을 수밖에 없을 것이라는 관측이 나오기도 했다. 특허 우회가 어렵다는 판단에서다. 카메라 모듈을 공급하는 LG이노텍이 삼성전기로부터 엑추에이터나 렌즈 등 부품을 받아 모듈로 조립하는 방안이 유력했다.
업계는 이번 애플의 특허 등록으로 삼성전기가 애플 공급망에서 최종 탈락했다고 해석한다. 삼성전기로서는 매년 2억대가량의 스마트폰을 출하하는 애플 시장을 놓친 셈이다. 애플의 폴디드줌 카메라 모듈은 이전처럼 LG이노텍이 계속 맡는다. LG이노텍도 폴디드줌 카메라 모듈을 현재 개발 중이다.

다만 애플 특허에 삼성전자 스마트폰 부품 협력사이기도 한 자화전자가 참여한 것으로 여겨져 업계 관심이 모이고 있다. 자화전자는 애플 공급망 편입에 앞서 삼성 측으로부터 지난해 말 특허 사용 승인을 받은 것으로 알려졌다. 업계 관계자는 “애플이 자화전자를 공급망에 넣으면서 특허 문제를 다른 방식으로 해결한 것으로 보인다”라고 전했다.
삼성증권 보고서에 따르면 폴디드줌 카메라 시장은 현재 삼성전자 약 1000만대, 중화권 스마트폰 제조사 300만~400만대 규모를 형성하고 있는 것으로 추정된다. 여기에 삼성전자가 갤럭시S 울트라에서 S 시리즈 전체로 폴디드줌을 확대하고, 중화권 제조사 역시 장착 범위를 넓힐 경우 2023년 4000만대로 시장 규모가 커질 전망이다.
- Copyright ⓒ 조선비즈 & Chosun.com -
Copyright © 조선비즈. 무단전재 및 재배포 금지.
- “무기 재고 바닥났다”… 전쟁 장기화에 방산업계 웃는다
- “환자들 투석도 못 해줄 판” 전쟁 여파로 5월 이후엔 병원도 고비
- [단독] 삼성전자 이어 삼성디스플레이도 ‘과반 노조’ 출범… 근로자 대표 확보 절차 돌입
- 정유사 주유소보다 비싸진 알뜰주유소 기름값… “고속도로 휴게소가 가장 많이 올라”
- [르포] ‘3000원 한강버스’ 뜬다… 출퇴근 ‘대안’ 부상
- [단독] 40년 넘은 K2 소총, 신형으로… 軍, 2028년 목표 ‘한국형 소총-Ⅱ’ 사업 추진
- 삼성전기, AI 반도체 기판 증설 가속… 2년 연속 1조원대 집중 투자
- 이란과 협상 와중에도… 美 항공모함·전투기 잇따라 중동 배치
- ‘미확정’ 공시 23번에 R&D 축소…삼천당제약, 신뢰 논란 속 고발 대응
- 현대차·기아, 美 1분기 신기록… 하이브리드 판매량 53% 급증