
최근에 출시되는 모터사이클을 보면 엔트리 모델이나 클래식 모델을 제외하고는 대체로 퀵 시프터의 도입이 늘어나고 있는 추세다. 퀵 시프터는 변속 순간에 맞춰 잠시 동력을 차단, 보다 빠른 변속을 도와주는 부품이다. 스포티한 주행에서 즉각적인 업 시프트는 기존 클러치를 사용한 변속보다 빠른 가속이 가능하고, 다운 시프트시에도 엔진 회전수를 일치시켜주는 레브 매칭을 통해 충격은 줄이면서도 효율적으로 엔진브레이크를 사용할 수 있기 때문에 사용자 입장에서는 편리한 옵션이라고 할 수 있다.

그렇다고 퀵 시프터에 장점만 있는 것은 아니다. 가장 큰 예로 퀵 시프터가 가장 효율을 발휘하기 위해선 일정 이상의 엔진 회전수를 유지해야 하는데, 교통 정체가 심한 시내 구간에선 오히려 퀵 시프터 작동에 적합한 회전수까지 높이는 건 쉬운 일이 아닐뿐더러 연비에 있어서도 그리 도움이 되지 않는다. 그리고 무리하게 저회전에서 퀵 시프터를 사용하게 되면 실속이 발생할 뿐 아니라 변속 과정에서 발생하는 부하가 엔진에 무리를 줄 수도 있다.

자동차 뿐 아니라 모터사이클 브랜드에서도 이를 해결하기 위한 다양한 변속 시스템을 개발, 적용하고 있다. 대표적인 예가 혼다의 DCT로, 자동차에만 적용되던 이 변속 시스템을 소형화하는데 성공, 자사의 모터사이클에 탑재하고 있다. 최근 가와사키는 기존 퀵 시프터 시스템에 세미-오토 시스템을 결합한 새로운 변속 기술에 대한 특허를 출원했다.

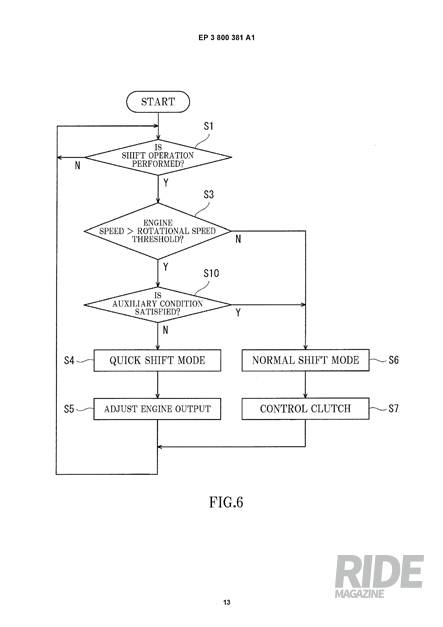
가와사키의 특허나 혼다의 DCT 모두 쉬운 변속을 위한 시스템이라는 공통점이 있다. 혼다 DCT는 변속에 대해 ECU 프로그램 세팅을 통해 스포츠 모드에선 고회전 영역을 적극적으로 사용하게 세팅하고 연비 모드에선 가장 최적의 구간에서 자동으로 변속을 하는 방식을 사용한다. 가와사키가 새로 출원한 특허 시스템은 이 모든 구성을 사용자가 제어(레버를 이용한 변속)하고 그 과정에서 세미-오토 방식의 변속 방식을 사용할지, 아니면 퀵 시프트 기능을 사용할지를 차량이 선택하는 것이다.

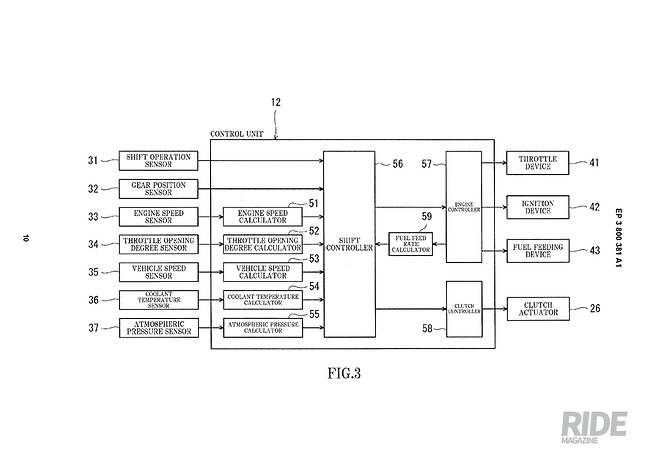
이를 위해 가와사키는 별도의 변속 컨트롤러와 클러치 액추에이터를 장착, 저회전 상태에서의 변속 시에는 컨트롤러가 액추에이터를 작동시켜 클러치를 동력축과 분리한 후 변속이 이루어지기 때문에 동력 손실을 최소화할 수 있다. 반면 고회전 상태에서는 장착된 퀵 시프터를 활용, 순간적인 동력 차단 후 변속을 통해 빠른 변속이 이루어져 가속을 극대화할 수 있다.

가와사키의 특허는 기존 클러치를 이용한 변속과 퀵 시프터를 이용한 변속 모두의 장점을 취할 수 있어 속도와 연비 등 효율을 극대화할 수 있다는 장점이 있지만, 반대로 추가적인 전자장비 투입으로 인한 단가 상승과 내구성의 문제가 변수로 남아있는 만큼 앞으로 이를 해결하기 위한 연구가 필요할 것으로 보인다.

가와사키는 이번 특허를 설명하기 위한 도면에서 Z1000SX를 사용했는데, 고속 투어링과 시내 주행 모두를 염두에 두어야 하는 모델인 만큼 이 신기술이 처음으로 적용될 가능성이 높아보인다.