로터리 엔진으로 유명한 마쓰다 스포츠카 차세대 모델 RX9(가칭) 예상도가 등장해 화제다. 전동화 시대에도 로터리 엔진을 계속 만들겠다고 선언한 마쓰다가 차세대 로터리 스포츠카 RX-9을 2025년 출시할 것으로 보인다. 최근 관련 특허가 공개돼 가능성이 기정사실화 됐다.

마쓰다 RX9 예상 CG (출처=리스폰스)
현재 마쓰다는 로터리 엔진을 하이브리드 차량인 MX-30에 발전용 엔진으로 장착하고 있다. 마쓰다 로터리 스포츠카는 2013년 생산 종료된 RX-8 이후 약 10년간 계보가 끊어졌다. 새롭게 가능성이 나오 것은 ‘2023 재팬 모빌리티 쇼’에서다. 차세대 로드스터로 로터리 엔진 탑재가 가능한 컨셉카 '아이코닉 SP'가 공개되면서 화제를 낳았다.
2개의 로터를 탑재한 전동화 차량 아이코닉 SP 등장으로 인해 RX-9 출시 가능성이 커졌다. 일본 미디어 리스폰스는 이미 개발에 착수한 것으로 알려진 RX-9 예상 CG를 공개했다. 외관 디자인은 아이코닉 SP를 기반으로 양산차답게 마무리했다.

2013년 단종된 마쓰다 로터리 RX-8

마쓰다 콘셉트 아이코닉 SP
프런트 사이드에서 리어에 걸쳐 매력적인 바디 라인은 그대로 유지했다. 전면 아이콘이던 리트랙터블 라이트는 날카로운 고정식 LED 라이트로 변경했다. ‘베이징 모터쇼 2024’에서 공개된 'EZ-6' 요소를 도입해 마쓰다다운 얼굴로 손을 봤다. 유기적인 어퍼 바디에 비해 블랙아웃으로 처리한 언더 바디는 날렵한 디퓨저를 장착했다.
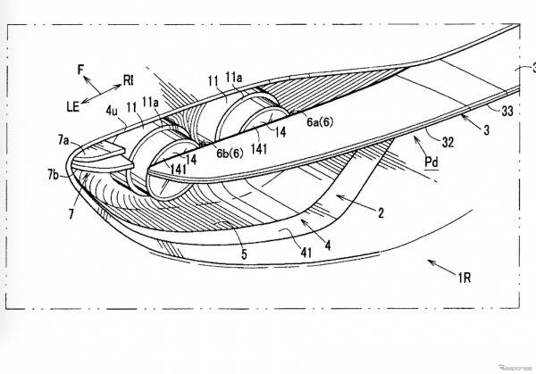
최근 마쓰다는 '액티브 리어 스포일러' 특허 신청을 했다. 고속 주행시 등으로 자동으로 움직여 다운포스를 증가시키는 장치다. 특허 신청한 마쓰다 도면을 보면 4개의 원형 테일 라이트에 겹치도록 배치한 것이 인상적이다.

마쓰다 '액티브 리어 윙' 특허 이미지

마쓰다 '액티브 리어 윙' 특허 이미지
RX-9 예상도 바디는 기존 RX-8의 4도어에서 2도어로 변경했다. 크기는 전장 4300mm, 전폭 1800mm, 전고 1200mm, 휠 베이스 2600mm로 보다 컴팩트할 것으로 예상된다. 운전석에는 와이드 인포테인먼트 디스플레이를 채용할 것으로 보인다.
파워트레인은 아이코닉 SP에서 공개된 800cc 세로형 2개의 로터와 전기 모터를 장착한 플러그인 하이브리드, 혹은 레인지 익스텐더 EV가 유력하다. 모두 후륜구동으로 최고 출력은 380마력이 될 것으로 추정된다. 전동화 파워트레인 탑재에 따라 무게 중심이 낮아져 날렵한 핸들링이 기대된다.
마쓰다 RX-9의 월드 프리미어는 2025년 가을로 예상된다.
김태진 에디터 tj.kim@carguy.kr
Copyright © 카가이 모든 콘텐츠(영상,기사, 사진)는 저작권법의 보호를 받은바, 무단 전재와 복사, 배포 등을 금합니다.