
자동차 못지않게 긴 역사를 가진 와이퍼(wiper)의 작동 원칙에 테슬라가 도전장을 냈다. 테슬라는 최근 와이퍼 암과 와이퍼 블레이드를 기어 세트로 회전 시켜 앞 유리의 빗물이나 오물 등을 제거하는 기존 와이퍼를 전기와 자기의 원리를 이용하는 전자기(electromagnetic) 방식의 새로운 시스템 특허를 출원했다.
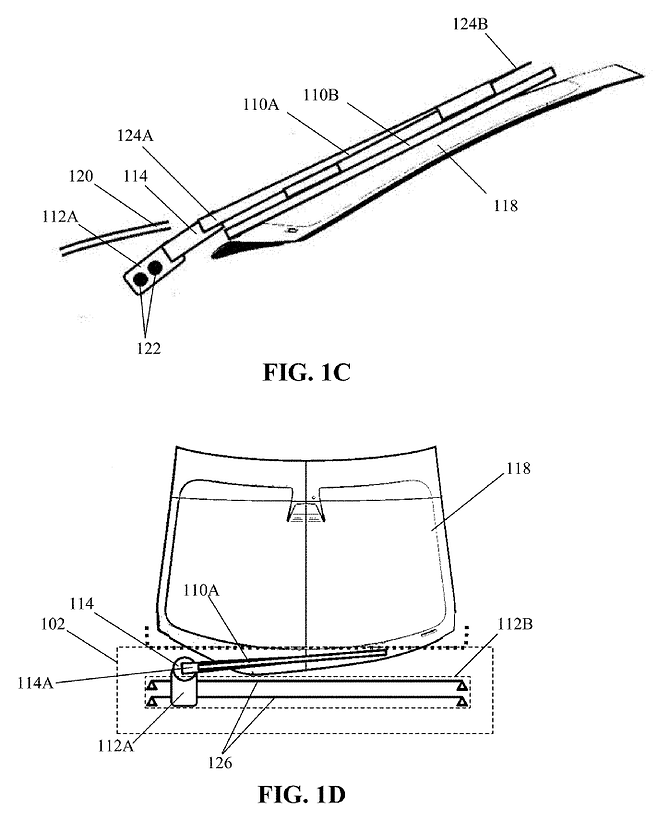
와이퍼 블레이드를 하나 또는 두 개를 장착해 사용할 수 있는 '전자기 와이퍼 시스템(electromagnetic wiper system)'은 자기부상 열차와 같이 보닛과 앞 유리 사이에 설치된 가이드 레일을 따라 와이퍼 암과 블레이드에 부착된 블록이 좌우로 빠르게 이동하면서 회전하는 방식이다.

테슬라는 전통적인 와이퍼가 작동하기 위해서는 많은 부품이 필요하고 모터의 사용과 마찰로 인한 에너지 사용량이 많은 단점을 갖고 있지만, 전자기 와이퍼는 블록이 움직이는 가이드 레일에서만 마찰력에 의한 에너지 손실이 발생해 상대적으로 전력 소비량이 낮은 장점을 갖고 있다고 설명했다.
또 전자기 와이퍼가 가시성을 확보해야 하는 자율주행차의 기능과 주행 거리를 조금이라도 늘리기 위해 전력 손실을 최소화해야 하는 전기차의 특성을 고려할 때 가장 이상적인 시스템이라고도 주장했다. 한편 자동차 와이퍼는 1903년 미국 메이 앤더슨이 발명했으며 초기에는 손으로 돌려 작동 했다. 현재와 같은 형태의 전동 와이퍼는 1926년 미국 보쉬가 개발했다.