
최근 자율주행차들이 속속 등장하면서 스티어링 휠도 새롭게 탈바꿈되고 있다.
운전자의 편안한 여정을 핵심으로 삼는 자율주행차에서는 실내 공간을 넓히는 것이 관건이다. 이에 기존의 둥근 핸들에서 벗어나 더 작고 독특한 스티어링 휠 디자인이 나오고 있다.
앞서 테슬라는 모델 S와 모델 X를 출시하며, 옵션으로 요크(Yoke) 스티어링 휠 계획을 밝힌 바 있다. 요크 스티어링 휠은 테슬라의 T자 모양 로고를 빼닮은 파격적인 디자인으로 반향을 일으켰다. 방향지시등이 사라지고 AI로 작동을 결정해 안전성 우려를 불러일으켰다.


GM은 PSP 게임기와 유사하게 생긴 스티어링 패드 콘셉트를 공개해 더 놀라운 행보를 보였다. 현대차에서는 레이싱카에서 볼법한 디자인의 핸들에 터치스크린을 추가했다.
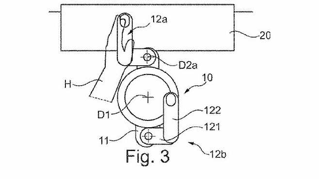
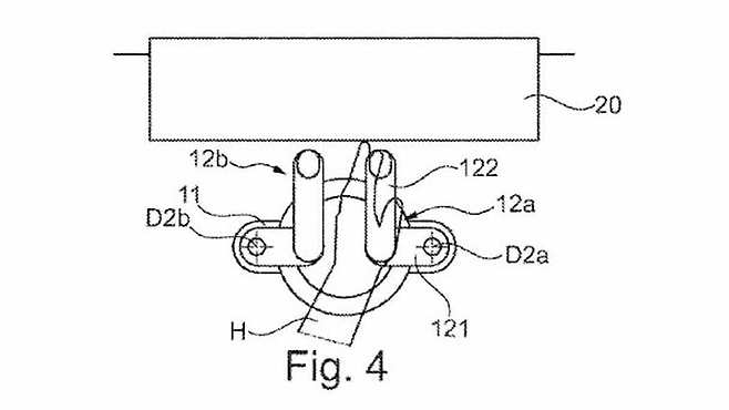
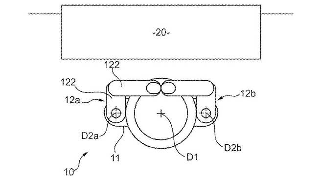
이번에 몇몇 해외 언론에 공개된 BMW의 새로운 ‘스티어링 핸들’의 특허 이미지를 보면 아주 작은 손잡이가 특징이다.


작동원리는 일반 핸들과 똑같다. 핸들을 돌릴 때 작은 손잡이는 항상 수직을 향하며 메인 수평 스포크는 중심을 잡고 회전한다. 새로운 스티어링 핸들은 실내 공간을 넓히는 데 도움이 될 것으로 보인다.
이번 콘셉트 디자인은 일반 모델에는 적용되지 않는다. BMW 아이비전 서큘러 콘셉트가 생산되면 함께 선보일 가능성도 있다. BMW는 미국에 특허를 출원했고, 앞서 중국과 독일, 글로벌 상표권 사무소에도 특허를 신청했다.
박도훈 기자