
애플이 실내에서 밝기를 조절할 수 있는 ‘스마트 선루프’를 개발했다.
해외자동차매체 오토에볼루션은 애플이 ‘운전자가 얼마나 많은 빛을 차량 내부로 들일 것인지를 결정’하는 새로운 선루프 디자인을 특허로 등록했다고 전했다.
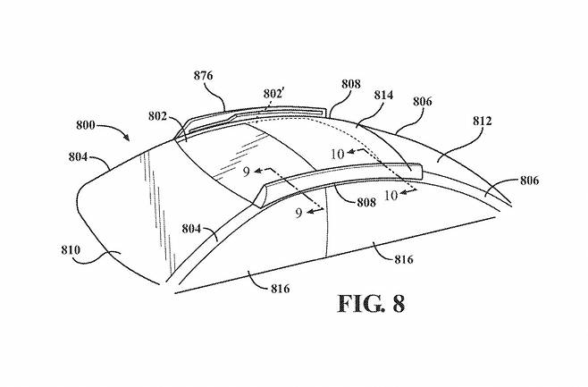
해당 아이디어가 완전히 새로운 것은 아니지만 애플의 접근 방식은 ‘반투명 가변창’에 기반한 것으로 이는 차 안에 있는 사람이 버튼을 눌러 실내 밝기를 쉽게 조절할 수 있는 기능이다.
애플은 해당 기능에 대해 “반투명 가변창 영역은 이동형 패널 어셈블리가 ‘닫힘→열림’으로 바뀌면 실내는 어두운 상태에서 밝은 상태로 전환되고, 또한 반대의 상태로도 전환이 가능하다”고 설명하고 있다.

‘이동식 패널 어셈블리(Movable panel assemblies)’라고 명명된 해당 특허는 지난 1일(현지시간) 등록됐으며 애플이 이러한 콘셉트를 양산 모델에 적용할 것인지는 확인되지 않았다.
외신들은 “이러한 과정이야말로 애플이 여전히 자동차 사업에 매우 적극적인 상황임을 알 수 있다”며 “만약 애플이 자동차를 직접 선보이지 않더라도 모든 발전된 기술로 인해 여전히 해당 시장에서 중요한 업체가 될 수 있다”고 분석했다.
한편 애플은 현재 배터리를 포함한 필수 부품 및 잠재적 공급 계약과 관련, 다양한 회사와 논의 중이며 차량 생산은 마그나와 LG의 합작회사가 맡을 가능성이 매우 높은 것으로 추정되고 있다.
/지피코리아 김미영 기자 may424@gpkorea.com, 사진=애플, 오토에볼루션