삼성 ‘트라이폴드폰’, 배터리 3개 탑재한다···폴드보다 대용량 예상
전체 맥락을 이해하기 위해서는 본문 보기를 권장합니다.
공개가 임박한 삼성전자의 두 번 접는 신형 폴더블폰이 자사 폴더블 최초로 5000mAh 이상의 대용량 배터리를 제공할 전망이다.
삼성전자 관련 정보를 다루는 네덜란드 IT 매체 갤럭시클럽은 "삼성전자는 이 특허에서 구체적인 배터리 용량을 언급하지 않았다"면서도 "배터리가 2개인 갤럭시 Z 폴드7이 4400mAh의 배터리라는 점을 고려하면 배터리 3개를 탑재하는 Z 트라이폴드 배터리는 5000mAh 이상일 가능성이 높다"라고 분석했다.
이 글자크기로 변경됩니다.
(예시) 가장 빠른 뉴스가 있고 다양한 정보, 쌍방향 소통이 숨쉬는 다음뉴스를 만나보세요. 다음뉴스는 국내외 주요이슈와 실시간 속보, 문화생활 및 다양한 분야의 뉴스를 입체적으로 전달하고 있습니다.
3개의 본체에 각각 배터리 들어갈 예정
배터리 용량 5000mAh 넘을지 관건

단말에 총 3개의 배터리를 탑재하면서 최신 폴더블폰인 갤럭시 Z 폴드7(4400mAh)보다 큰 배터리를 제공하는 방식이다.
10일 모바일업계와 한국특허정보원(KIPRIS)에 따르면 삼성전자의 갤럭시 Z 트라이폴드 구조 관련 특허가 지난달 공개됐다.
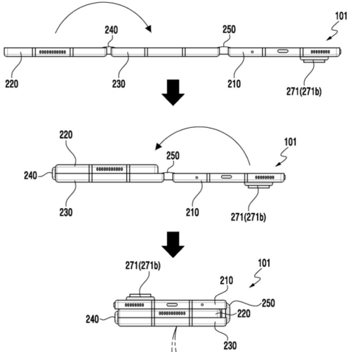
갤럭시 Z 트라이폴드는 총 3개의 본체로 구성되어 두 번 접히는 삼성전자의 차세대 폼팩터다. 접었을 때는 바 형태의 스마트폰처럼 사용하면서, 펼쳤을 때는 태블릿 수준의 대화면을 이용할 수 있다.
이번에 공개된 특허는 삼성전자가 지난해 먼저 출원한 특허로, 출원일로부터 1년 6개월이 지나면서 지난달 말에 공개됐다.
특허에 따르면 갤럭시 Z 트라이폴드는 각 본체마다 서로 다른 크기의 배터리를 탑재할 것으로 관측된다. 카메라가 배치되는 본체에는 공간상의 이유로 가장 작은 크기의 배터리가 들어가게 된다.
![삼성전자의 갤럭시 Z 트라이폴드 관련 특허 이미지 [출처 = 키프리스]](https://img3.daumcdn.net/thumb/R658x0.q70/?fname=https://t1.daumcdn.net/news/202510/10/mk/20251010110902359xqet.jpg)
삼성전자 관련 정보를 다루는 네덜란드 IT 매체 갤럭시클럽은 “삼성전자는 이 특허에서 구체적인 배터리 용량을 언급하지 않았다”면서도 “배터리가 2개인 갤럭시 Z 폴드7이 4400mAh의 배터리라는 점을 고려하면 배터리 3개를 탑재하는 Z 트라이폴드 배터리는 5000mAh 이상일 가능성이 높다”라고 분석했다.
폴더블폰은 접이식 구조로 인해 배터리 탑재에 한계가 있어 그동안 갤럭시 Z 시리즈는 5000mAh 이하의 배터리를 탑재해왔다.
갤럭시 Z 트라이폴드는 기존의 한계를 넘어 대용량 배터리를 탑재할지에 이목이 쏠리는 배경이다. 앞서 트라이폴드폰을 출시한 화웨이의 경우 5600mAh의 배터리를 제공하고 있다.
한편 갤럭시 Z 트라이폴드의 후면 카메라 배치 구조는 카메라 세개를 나란히 카메라 섬으로 구성하는 갤럭시 Z 폴드7 방식이 유지될 전망이다.
![삼성전자의 갤럭시 Z 트라이폴드 관련 특허 이미지 [출처 = 키프리스]](https://img2.daumcdn.net/thumb/R658x0.q70/?fname=https://t1.daumcdn.net/news/202510/10/mk/20251010110903571jbpl.png)
두 번 접는 제품 특성상 가운데 본체를 기준으로 왼쪽 본체를 먼저 접고, 오른쪽 본체를 그 위로 포개는 방식이다. 이에 따라 본체를 연결하는 힌지(경첩)도 길이가 서로 다르다.
삼성전자는 이달 말 경주에서 열리는 아시아태평양경제협력체(APEC) 정상회의에서 갤럭시 Z 트라이폴드 실물을 처음 선보일 예정이다. 이르면 11월부터 판매를 시작한다.
Copyright © 매일경제 & mk.co.kr. 무단 전재, 재배포 및 AI학습 이용 금지
- 오늘의 운세 2025년 10월 10일 金(음력 8월 19일) - 매일경제
- “두번째 결혼은 연하남과”...황혼재혼 택하는 여성 10년새 2.4배 ‘쑥’ - 매일경제
- “나라 망친것 외에 아무것도 안했는데 상받았다”…노벨평화상 발표 앞두고 트럼프가 비난한
- 중국 이젠 이것까지 베끼나…‘짝퉁’ K푸드 만들어 동남아 수출까지 - 매일경제
- [2026 THE 세계 대학 평가] 韓대학 약진…세계 100위에 4곳 진입은 처음 - 매일경제
- 보유세 더 세게? 주담대 한도 축소?…부동산 추가대책 나온다는데 - 매일경제
- 임금 삭감 없이 정년 늘리는데 신입 초봉도 올린다고?...‘꿈의 직장’ 어디야 - 매일경제
- “UAE에 AI반도체 수출 승인”…엔비디아 사상 최고가 또 뚫었다 - 매일경제
- [속보] 코스피, 상승 출발해 사상 처음 3600선 돌파 - 매일경제
- ‘시어러-앙리-오언, 손흥민 렛츠고!’…프리미어리그가 선정한 ‘최고의 골잡이’ - MK스포츠