갤럭시 언팩 D-2…기대해도 좋은 제품 4가지
(지디넷코리아=이정현 미디어연구소)오는 22일(현지시간) 삼성전자가 미국 새너제이에서 올해 첫 언팩 행사를 개최한다. '모바일 인공지능(AI) 경험의 다음 큰 도약’(The Next Big Leap in Mobile AI Experiences)이라는 주제로 열리는 이번 언팩 행사에서는 갤럭시S25 시리즈와 AI가 주인공이 될 것으로 보인다.
미국 지디넷은 갤럭시S25 시리즈 외에 갤럭시 언팩 2025에서 깜짝 등장할 수 있는 제품 4가지를 꼽아서 최근 보도했다.
1. 갤럭시S25 슬림

갤럭시S 시리즈는 일반적으로 표준, 플러스, 울트라 모델 세 가지로 구성된다. 하지만 올해는 두께가 얇아진 갤럭시S25 슬림이 공개될 수도 있을 전망이다.
최근 유명 IT 팁스터 온리크스는 스마트프릭스와 협력해 갤럭시S25 슬림의 렌더링을 공개했다. 렌더링에 따르면, 갤럭시S25 슬림은 디자인은 울트라와 비슷하지만 6.7~6.8인치 화면에 두께는 6.4mm를 갖출 예정이다. 갤럭시S25 울트라의 두께는 8.2mm이 될 것으로 보인다. 그 밖에 스냅드래곤8 엘리트 칩셋에 12GB 램, 안드로이드 15를 통한 원UI 7 등이 지원될 예정이다.
미국 지디넷은 삼성이 얇은 갤럭시폰을 출시하는 이유 중 하나가 애플 때문일 수도 있다고 밝혔다. 애플도 올 가을 아이폰17 에어(또는 아이폰17 슬림)이라는 초박형 아이폰을 출시할 예정이기 때문에 삼성이 먼저 슬림형 스마트폰을 출시해 앞서 나가고 싶어하는 것으로 보인다고 덧붙였다.
2. 갤럭시링 2

1세대 갤럭시링이 출시된 지 얼마 되지 않았으나 2세대 제품이 언팩 행사에서 등장할 가능성도 있다. 대만 디지타임스는 지난 달 갤럭시링 2가 최대 7일의 배터리 수명에 더 정확한 건강 지표 측정과 AI 기능 등을 갖추고 두 가지 더 큰 사이즈로 나올 예정이라고 보도했다.
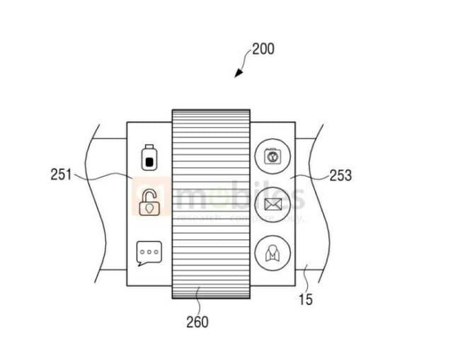
최근 삼성이 출원한 스마트링 특허도 주목된다고 미국 지디넷은 전했다. 작년 12월 네덜란드 매체 갤럭시클럽은 삼성이 자동으로 크기가 조절되는 기능을 갖춘 갤럭시링 특허를 미국 특허청에 출원했다고 보도했다. 해당 특허는 단단한 본체 대신 탄력적인 소재를 갖춰 사용자의 손가락 위로 늘어나거나 줄어들 수 있어 반지 크기를 다양하게 제작할 필요가 없다.

삼성이 작년 5월 출원한 또 다른 특허는 스마트링 바깥쪽에 디스플레이를 탑재해 앱 알림이나 관련 정보를 표출하는 모습을 보여줬다.
3. 혼합현실(XR) 헤드셋
삼성전자는 그 동안 프로젝트 ‘무한’(Moohan)이라는 코드명의 XR 헤드셋을 개발해왔다. 헤드셋 크기나 화면 해상도 등 사양에 대해 알려진 것은 없지만 구글, 퀄컴과 함께 개발해 온 만큼 퀄컴 스냅드래곤 칩셋이 장착될 것으로 보인다.

지난 달 구글은 이 헤드셋의 시제품 이미지를 공개했다. 언뜻 보면 애플 비전 프로를 연상시키지만 더 큰 얼굴 커버와 편안한 착용감을 위해 메타 헤드셋과 같이 머리 끈을 갖췄다.

구글은 해당 헤드셋을 구동하게 될 안드로이드 XR도 시연했다. 지디넷은 이 운영체제가 "공간 컴퓨팅 애플리케이션을 중심으로 한다"며, 실제 사용자 환경에 정보와 시각적 신호를 표시한다고 전했다. 또, 사용자는 좋아하는 유튜브 채널을 대형 디지털 화면에서 시청하고 구글 플레이 스토어 앱에 접근할 수 있다.
4. 메타 레이벤과 닮은 스마트 안경
삼성은 무한 헤드셋과 함께 스마트 안경도 개발 중이다. IT 팁스터 주칸로스레브는 “마이크로 LED 기술이 아직 성숙하지 않았기 때문에 디스플레이가 탑재되지 않을 것”이라며 삼성의 스마트안경이 메타 레이밴과 비슷하게 작동할 것이라고 설명했다.

한 국내 매체 보도에 따르면, 해당 스마트 안경은 AI 비서가 탑재돼 동작인식 및 결제 기능을 갖출 예정이며 무게는 50g, 메타 레이벤과 모양이 비슷하다고 알려졌다.
지디넷은 무한 XR 헤드셋이나 스마트 안경의 경우 언팩 행사에서 직접 등장하는 대신 티저 형식으로 공개될 가능성이 있다고 밝혔다.
이정현 미디어연구소(jh7253@zdnet.co.kr)
Copyright © 지디넷코리아. 무단전재 및 재배포 금지.
- 공개 앞둔 삼성 갤럭시S25 국내 가격 동결 전망
- [ZD브리핑] '갤럭시S25' 등 삼성 미래에 이목 쏠린다
- "갤럭시S25 슬림 두께, 표준 모델과 큰 차이 없어"
- 얇아지는 갤럭시S25 슬림·아이폰17 에어, 배터리 얼마나 줄까
- 갤럭시S25 슬림 렌더링 최초 공개
- 대기업 이탈 속 국대 AI 패자부활전 개막…"기준 미달 시 선정 무산"
- 금값 사상 최고치 찍자 금 코인 거래량 13배↑
- 스테이블코인 법제화 기대감에 네이버·카카오페이 주가 ‘급등’
- 카카오, CA협의체 힘 빼고 실행력 키우는 조직으로 탈바꿈 한다
- AI 서버·전장·로봇…삼성전기, 미래 성장축 명확해졌다