“스마트 반지 크기 자유자재로 조절”… 삼성이 갤럭시S25 언팩 앞두고 공개한 신기술은
전체 맥락을 이해하기 위해서는 본문 보기를 권장합니다.
삼성전자가 다음 달 갤럭시S25 언팩(출시) 행사를 앞두고 스마트폰, 증강현실(AR) 안경, 스마트 반지 등 신기술을 대거 공개했다.
인공지능(AI) 기술을 활용해 스마트폰으로 촬영한 사진 속 사물을 제거하거나 이용자의 시선에 따라 AR 글래스 화면 속 애플리케이션(앱) 위치를 조정하는 기술이다.
24일 특허검색시스템 키프리스(KIPRIS)에 따르면 삼성전자는 지난달 스마트폰 내 AI 기술을 활용해 사진 속 피사체를 제거할 수 있는 기술에 관한 특허를 공개했다.
이 글자크기로 변경됩니다.
(예시) 가장 빠른 뉴스가 있고 다양한 정보, 쌍방향 소통이 숨쉬는 다음뉴스를 만나보세요. 다음뉴스는 국내외 주요이슈와 실시간 속보, 문화생활 및 다양한 분야의 뉴스를 입체적으로 전달하고 있습니다.
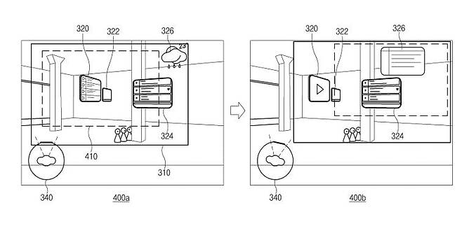
이용자 시선 따라 AR 글래스 화면 속 앱 위치 조정
사이즈 조절 가능한 스마트 반지 특허도 공개

삼성전자가 다음 달 갤럭시S25 언팩(출시) 행사를 앞두고 스마트폰, 증강현실(AR) 안경, 스마트 반지 등 신기술을 대거 공개했다. 인공지능(AI) 기술을 활용해 스마트폰으로 촬영한 사진 속 사물을 제거하거나 이용자의 시선에 따라 AR 글래스 화면 속 애플리케이션(앱) 위치를 조정하는 기술이다. 스마트 반지를 이용자 손가락 크기에 맞춰 조절할 수 있는 기술 특허도 공개했다.
24일 특허검색시스템 키프리스(KIPRIS)에 따르면 삼성전자는 지난달 스마트폰 내 AI 기술을 활용해 사진 속 피사체를 제거할 수 있는 기술에 관한 특허를 공개했다. 사진을 촬영한 뒤 함께 촬영된 행인들을 선택하면, AI가 배경만 남기고 모두 제거하는 방식이다. 삼성전자는 명세서를 통해 이 기술로 사진의 배경을 원래 촬영된 것처럼 더 넓게 확장할 수 있다고 설명했다.
지난달 삼성전자는 AR 글래스를 착용한 채 앱을 선택하고 구동할 수 있는 기술에 관한 특허를 공개했다. AR 글래스 내부에 적용된 센서가 이용자의 시선을 파악하고, 허공에 떠 있는 앱의 위치를 AR 글래스의 화면에 표시하는 방식이다. 이용자가 가상화면 속에서 방향 감각을 잃지 않도록 나침반을 함께 화면에 표시하는 기술도 포함됐다.
삼성전자는 지난 10월 이용자의 손가락에 맞게 크기를 조절할 수 있는 스마트 반지에 대한 특허도 공개했다. 반지 내부에 탄성이 있는 소재를 조절해 반지의 크기를 늘리거나 줄일 수 있는 기술이다. 현재 갤럭시 링은 이용자의 손가락 두께에 따라 1~10호의 크기로 출시됐는데, 이 기술을 통해 크기 조절을 전작보다 더 자유롭게 할 수 있을 것으로 보인다.

삼성전자는 다음 달 22일 언팩에서 갤럭시S25 시리즈 뿐만 아니라 안경, 반지 형태의 신제품을 잇달아 공개할 것으로 예상된다. 갤럭시S25는 일반·플러스·울트라 3개 모델로 출시되는데, 원활한 AI 기능 구동을 위해 모두 퀄컴 스냅드래곤 모바일 칩셋(AP)이 탑재됐다. 갤럭시S25에는 AI를 통해 고도화한 음성 비서 빅스비 등이 적용될 방침이다.
삼성전자는 구글, 퀄컴과 협업해 개발한 확장현실(XR, VR과 AR을 혼합) 글래스 ‘프로젝트 무한’도 언팩에서 공개할 것으로 보인다. 이 기기에는 구글 제미나이를 기반으로 한 AI 챗봇과 퀄컴의 칩셋이 적용될 계획이다. 전작인 갤럭시 링1 대비 추가된 기능에 배터리 시간은 늘고 두께는 얇아진 갤럭시 링2가 공개될 가능성도 제기되고 있다.
삼성전자는 새로운 폼팩터(기기의 형태)를 통한 분위기 반전이 절실한 상황이다. 올해 3분기 삼성전자 모바일경험(MX) 사업부의 영업이익은 2조8200억원으로 전년 동기 대비 14.5% 감소했다. 갤럭시Z폴드·플립 6 시리즈가 부진하면서 영업이익이 감소한 것으로 풀이된다.
박강호 대신증권 연구원은 “새로운 폼팩터와 신기술이 판매량을 크게 끌어올리지는 못하더라도, 제품 포트폴리오를 강화하는 데 도움을 줄 수 있다”며 “교체 수요를 자극해 현재의 불황기를 벗어나는 기폭제가 될 가능성도 있다”라고 말했다.
- Copyright ⓒ 조선비즈 & Chosun.com -
Copyright © 조선비즈. 무단전재 및 재배포 금지.
- 中 자동차, 25년 만에 日 꺾고 세계 신차 판매 1위 등극
- 최초 국산 항공엔진 ‘첫 시동’ 코앞… 1만lbf급 엔진 개발도 첫발
- BTS 공연 인파 잡은 네카오 지도… 혼잡도 안내 효과 입증
- ‘1만가구’ 진통에 토지 매각 차질… 표류하는 용산국제업무지구
- [Why] 미국서 찬밥 신세였던 닭다리살, 왜 갑자기 인기 폭발했나
- 권오현 전 회장 “나는 이상한 삼성맨… 주말 쉬고 칼퇴근, 위임 철저” [김지수의 인터스텔라]
- [시승기] 강력한 힘, 화끈한 배기음… 마세라티 그레칼레 트로페오
- [넥스트 올다무]④ 냉감이불부터 메밀베개까지... K침구 골목 대만인들 ‘북적’
- [BTS 귀환] “내 사랑 보러 러시아서 왔어요”… 전 세계 아미 한 자리에
- 이란 전쟁에 日 유통업계도 타격… 감자칩 생산 중단, 화장지 품귀설 확산