애플, 비전 프로-맥 커서 연동 기술 공개… 판매 부진 만회 ‘안간힘’
전체 맥락을 이해하기 위해서는 본문 보기를 권장합니다.
애플이 혼합현실(XR) 헤드셋 '비전 프로'와 PC '맥'의 커서를 연동하는 기술을 공개했다.
남상욱 산업연구원 부연구위원은 "애플이 야심작인 비전 프로의 판매량이 저조하자 다른 기기와의 연결성을 강화해 활용도를 높이는 데 주력하고 있는 것으로 보인다"며 "맥은 아이폰처럼 많은 이용자가 구매하는 제품은 아닌 만큼, 이번에 공개된 기술이 비전 프로의 판매량을 늘리는 데 큰 도움을 주지는 못할 것으로 보인다"고 설명했다.
이 글자크기로 변경됩니다.
(예시) 가장 빠른 뉴스가 있고 다양한 정보, 쌍방향 소통이 숨쉬는 다음뉴스를 만나보세요. 다음뉴스는 국내외 주요이슈와 실시간 속보, 문화생활 및 다양한 분야의 뉴스를 입체적으로 전달하고 있습니다.
”비전 프로, 올 2분기 판매량 전년 대비 75% 감소“
”맥 이용자 아이폰 만큼 많지 않아… 실효성은 의문”

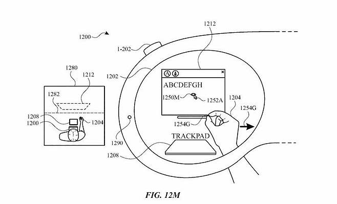
애플이 혼합현실(XR) 헤드셋 ‘비전 프로’와 PC ‘맥’의 커서를 연동하는 기술을 공개했다. 비전 프로를 착용한 채 손짓만으로 맥의 커서를 움직일 수 있게 됐다. 연초 출시한 야심작인 비전 프로 판매가 부진하자, 기기의 활용도를 높여 판매량을 끌어올리겠다는 포석이다.
8일 업계에 따르면 애플은 이달 초 미국 특허청(USPTO)에 비전 프로 사용자가 맥의 커서를 제어할 수 있는 특허를 공개했다. 애플은 보고서를 통해 “디스플레이 장비와 특정 입력 장치가 통신하도록 구성된 시스템”이라며 “디스플레이 장비가 손의 움직임이 수행 가능한 동작이라고 판단되면 커서를 이동하고, 그렇지 않으면 이동하지 않는 기술”이라고 설명했다.
애플은 마우스 등을 통해 커서를 움직이는 기존 방식이 그림을 그리거나 그래픽을 만드는 등 고난이도 작업에 적합하지 않다는 판단 하에 이 같은 기술을 개발한 것으로 보인다. 애플은 해당 기술을 비전 프로 전면에 부착된 카메라나 센서를 통해 구현할 수 있다고 설명했다.

애플은 비전 프로의 활용도를 늘려 판매량을 끌어올리는 데 주력하고 있다. 당초 애플은 지난해 내부적으로 비전 프로 판매량 목표를 100만대로 정한 것으로 전해졌다. 그러나 시장조사업체 IDC는 비전 프로가 지난 2월 미국 출시 이후 분기당 10만대도 팔리지 않았고, 올해 2분기 역시 판매량이 전년 대비 75% 이상 감소할 것이라고 전망했다. 해외 IT 팁스터(유출 전문가)들은 비전 프로에서 사용할 기능이 부족하다는 점을 판매 부진의 이유로 꼽는다.
경쟁사들도 XR 기기 출시를 예고하며 애플을 압박하고 있다. 노태문 삼성전자 MX(모바일경험) 사장은 지난달 10일(현지시각) 프랑스 파리에서 열린 ‘갤럭시 언팩 2024′에서 “XR 플랫폼을 올해 선보이겠다”고 밝혔다. 삼성은 수년 간 디바이스 제조는 자사가 주도하되 운영체제(OS)는 구글, 칩셋은 퀄컴과 협력하는 방식으로 관련 사업을 추진해 왔다. 삼성의 XR 기기는 내년부터 생산될 것으로 전망된다.
세계 3위 TV 회사인 중국 TCL은 지난해 ‘레이네오 X2′ 증강현실(AR) 안경을 출시하기도 했다. 시장조사업체 카운터포인트리서치에 따르면 지난해 TCL은 레이네오 X2를 통해 AR 안경 판매량을 전년 대비 67% 이상 끌어올린 것으로 집계됐다.
남상욱 산업연구원 부연구위원은 “애플이 야심작인 비전 프로의 판매량이 저조하자 다른 기기와의 연결성을 강화해 활용도를 높이는 데 주력하고 있는 것으로 보인다”며 “맥은 아이폰처럼 많은 이용자가 구매하는 제품은 아닌 만큼, 이번에 공개된 기술이 비전 프로의 판매량을 늘리는 데 큰 도움을 주지는 못할 것으로 보인다”고 설명했다.
- Copyright ⓒ 조선비즈 & Chosun.com -
Copyright © 조선비즈. 무단전재 및 재배포 금지.
- [르포] “1㎝라도 더 크게” 키플레이션에 성장 주사 열풍… ‘부작용 우려도’
- [동네톡톡] 장학금에 60년 세수 확보... 원전 유치전 불붙었다
- 中, 성숙 공정 파운드리 확대… “삼성전자·TSMC 시장 파이 잠식"
- 2월 아파트 가장 많이 팔린 곳 ‘노원구’… 매매 15억 이하가 85%
- [세상을 바꾼 표준]⑧ 배에 실은 컨테이너가 촉발한 ‘물류 혁명’
- 지난달 서울 주택 공급 지표 일제히 악화…강력 규제에도 주택 거래량은 ‘껑충’
- ‘깜짝 실적’ 엔비디아, 현대차·LG 언급… ‘생태계 확대’ 강조한 젠슨 황
- “6000 넘었지만 삼전·하이닉스만 웃음?”…종목 열에 여섯은 축제서 소외
- “임대주택도 한강뷰 배정”… 9월부터 공개추첨 안 하면 재건축 불허
- [100세 과학] 과일향이 기억력 높인다, 단 여성만 효과