주름 없는 폴더블폰 속속 등장, 삼성 폴드∙플립5는 방수∙방진까지?
전체 맥락을 이해하기 위해서는 본문 보기를 권장합니다.
삼성전자의 폴더블 스마트폰인 갤럭시 Z 폴드, 갤럭시 Z 플립 시리즈의 아쉬운 점 중 하나는 화면을 펼치면 가운데에 접힌 자국이 남는다는 것이었다.
기즈차이나가 보도한 유출 내용에 따르면, 삼성전자가 올해 출시할 폴드5와 플립5는 물방울형 힌지를 적용해 화면 주름을 해결하며, 여기서 더 나아가 방수 및 방진(먼지 유입 방지) 기능까지 구현하는 것이 목표다.
이 글자크기로 변경됩니다.
(예시) 가장 빠른 뉴스가 있고 다양한 정보, 쌍방향 소통이 숨쉬는 다음뉴스를 만나보세요. 다음뉴스는 국내외 주요이슈와 실시간 속보, 문화생활 및 다양한 분야의 뉴스를 입체적으로 전달하고 있습니다.
[IT동아 김영우 기자] 삼성전자의 폴더블 스마트폰인 갤럭시 Z 폴드, 갤럭시 Z 플립 시리즈의 아쉬운 점 중 하나는 화면을 펼치면 가운데에 접힌 자국이 남는다는 것이었다. 화면에 표시된 콘텐츠의 종류에 따라 주름이 잘 보이지 않는 경우도 있긴 하지만, 그래도 거슬리는 것은 어쩔 수 없다.

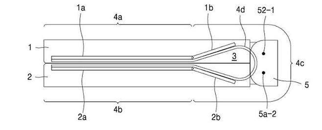
그런데, 올해 발표될 갤럭시 Z 폴드5(가칭, 이하 폴드5)와 갤럭시 Z 플립5(가칭, 이하 플립5)에는 이러한 아쉬움이 상당부분 해소될 것이라고 복수의 해외 매체가 전하고 있다. IT 매체 ‘샘모바일’, ‘기즈차이나’ 등의 최근 보도에 따르면, 폴드5와 플립5에는 기존의 U자 형태 힌지가 아닌 물방울 형태의 힌지(경첩 구조)를 적용, 화면 주름을 해소할 것으로 보인다.
기존의 삼성전자 폴드 및 플립 시리즈에 적용되던 U자형 힌지는 화면을 접었을 때 주름이 생기는 것을 막기 어려운 구조였으며, 접힌 양쪽 화면을 완전히 밀착시키기도 어려워 중간에 뜬 공간이 생길 수 밖에 없었다.
반면, 물방울형 힌지는 화면을 접었을 때 다양한 부분으로 접힌 각도를 분산시켜 화면에 주름이 생길 우려를 최소화할 수 있다. 또한 접힌 양쪽 화면을 밀착시키기도 용이해 기존 폴더블 스마트폰에서 보였던 화면 사이의 틈 역시 해결이 가능하다.
하지만 물방울형 힌지는 다소 덜 검증된 기술이었다. 특히 U자형 힌지에 비해 구조가 복잡하고 섬세해 안정성이나 내구성을 확보하기가 어려운 것이 문제였다. 그리고 물방울형 힌지 구조에서는 방수 기능을 구현하기 어렵다는 것이 중론이었다.
하지만 작년과 올해를 전후해 화웨이 및 샤오미, 오포, 모토로라 등의 해외 업체들이 물방울형 힌지를 적용한 폴더블 스마트폰을 본격적으로 발표하기 시작하면서 분위기가 달라지기 시작했다. 이들 제품은 아직 방수기능까지는 완벽하게 구현하지 못했지만, 화면의 주름은 거의 보이지 않을 정도로 개선했으며, 접힌 화면 사이에서 생기는 빈틈도 최소화한 것이 특징이다.

물론 그렇다고 하여 삼성전자가 손을 놓고 있던 것은 아니다. 삼성전자는 이미 2016년에 물방울형 힌지 기술을 특허 출원한 바 있다. 삼성전자에 모바일 기기용 화면을 공급하는 삼성디스플레이 역시 올해 초 개최된 CES 2023 박람회에서 물방울형 힌지 기술을 공개한 바 있다. 주름 없는 폴더블폰을 만들기 위한 기술적 기반은 이미 갖추고 있다는 의미다.
기즈차이나가 보도한 유출 내용에 따르면, 삼성전자가 올해 출시할 폴드5와 플립5는 물방울형 힌지를 적용해 화면 주름을 해결하며, 여기서 더 나아가 방수 및 방진(먼지 유입 방지) 기능까지 구현하는 것이 목표다.
삼성전자는 2021년에 출시한 폴드3와 플립3, 그리고 2022년에 출시한 폴드4와 플립4에 방수 기능은 탑재했지만 방진 기능은 탑재하지 못했다. 만약 유출 내용대로 폴드5와 플립5가 출시된다면 주름 개선, 틈 최소화, 방수, 방진까지 모두 실현한 ‘완전체’ 폴더블폰이 나오는 셈이다.
다만, 위와 같은 외신 내용은 어디까지나 익명을 요구한 ‘관계자’의 증언에 기반한 것이라 완전히 신뢰하기는 어렵다. 삼성전자의 새로운 폴더블폰은 올해 8월 전후에 발표된 것으로 예상되고 있으니 정확한 사실은 그때 가 봐야 알 수 있을 것이다.
글 / IT동아 김영우(pengo@itdonga.com)
사용자 중심의 IT 저널 - IT동아 (it.donga.com)
Copyright © IT동아. 무단전재 및 재배포 금지.
- 中 스마트폰 MWC 딛고 세계로, 가격·보안 개선 과제
- 폴더블 스마트폰, 침체기 구원투수 되려면 가격 낮춰야
- "프리미엄 시장 잡아라" 中 스마트폰 기업 신제품 파상공세
- 메디센싱 "소리로 상황 이해하는 AI···의료·일상 돕는 방향으로 확장할 것" [과기대 딥테크]
- 유튜브에 들어온 제미나이, ‘시청 흐름 끊지 않고 궁금증 해결’
- 네이버 컬리N마트, 당일배송 품었다…쿠팡 이탈 고객 잡을까
- 스트레스솔루션 “스트레스 관리하는 힐링비트로 글로벌 헬스케어 기업으로 도약할 것” [경북
- 연휴 시즌 보이스피싱 주의보…통신사별 막는 방법은?
- [신차공개] 페라리 최초 전기차 루체·MINI 쿠퍼 SE 폴스미스 에디션 공개
- [생활 속 IT] 카카오톡, 영상 만들기 기능 도입···어디까지 가능할까