페이스·터치ID 모두 화면 아래로...'풀스크린' 아이폰 나올까
전체 맥락을 이해하기 위해서는 본문 보기를 권장합니다.
애플이 얼굴인식 '페이스ID'를 디스플레이 아래에 숨긴 풀스크린 아이폰을 준비 중이라는 보도가 나왔다.
로스 영은 이르면 2026년 아이폰에서 새로운 언더 디스플레이 터치ID 기능 구현이 가능하며, 같은 해에 페이스ID와 전면 카메라가 모두 화면 아래 내장될 것으로 내다봤다.
이 글자크기로 변경됩니다.
(예시) 가장 빠른 뉴스가 있고 다양한 정보, 쌍방향 소통이 숨쉬는 다음뉴스를 만나보세요. 다음뉴스는 국내외 주요이슈와 실시간 속보, 문화생활 및 다양한 분야의 뉴스를 입체적으로 전달하고 있습니다.

애플이 얼굴인식 '페이스ID'를 디스플레이 아래에 숨긴 풀스크린 아이폰을 준비 중이라는 보도가 나왔다. 화면 내 지문인식 기능인 언더 디스플레이 터치ID 기술도 연구 중이다.
IT 전문매체 나인투파이브맥은 9일(현지시간) 디스플레이 분석가 로스 영을 인용해 이같이 전했다.
애플은 지난해와 올해 언더디스플레이카메라(UDC) 기술 관련 특허를 낸 것으로 알려졌다. 페이스ID용 카메라를 화면 아래에 숨겨 보이지 않게 하고, 이로 인한 디스플레이 왜곡을 줄이기 위해 디지털 필터를 적용한다는 내용이 주를 이룬다.
UDC는 카메라를 디스플레이 패널 밑으로 넣는 기술로 삼성전자 등 안드로이드 스마트폰 경쟁사는 이를 적용해 완전한 풀스크린을 구현하고 있다.
다만 애플이 UDC를 적용한 아이폰을 선보이는 시기는 이르면 2025년이 될 것으로 전망된다. 로스 영은 "언더 패널 페이스ID는 센서 문제로 2025년 이후로 미뤄질 것으로 예상된다"고 밝혔다.
로스 영은 앞서 애플이 2024년 언더 디스플레이 페이스ID 기능을 탑재한 아이폰을 출시할 것으로 내다봤지만, 이번 보고서에서는 센서 문제로 이를 2025년 이후로 연기한 것으로 보인다고 전했다. 애플이 올가을 선보일 아이폰15 시리즈 전 모델에는 지난해 아이폰14 프로 라인업에 도입된 '다이내믹 아일랜드' 기술이 확장 적용될 것으로 알려졌다.

애플은 지문인식 터치 ID를 아이폰으로 되돌릴 방식도 연구 중이다. 다만 보급형 모델 아이폰SE 등에 적용된 형식이 아닌 디스플레이 아래에 터치ID를 배치하는 방식이다.
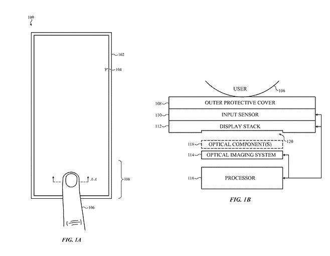
애플은 최근 단파 적외선과 광학 이미징 시스템을 결합한 새로운 언더 스크린 터치ID 특허를 취득했다.
해당 특허에 따르면 광학 이미지 시스템은 사용자의 지문을 인식할 뿐만 아니라 정맥 패턴, 혈중 산소량, 맥박 등도 측정할 수 있다. 이 외에도 사용자가 장갑을 착용하고 있는지, 손이 물에 젖어 있는지 등을 판별한다.
애플은 지난 2013년부터 디스플레이 내장 지문 센서를 적용한 터치ID 시스템을 연구해왔으며, 일부 아이폰13 시리즈 모델로 이를 테스트해 본 것으로 알려졌다.
로스 영은 이르면 2026년 아이폰에서 새로운 언더 디스플레이 터치ID 기능 구현이 가능하며, 같은 해에 페이스ID와 전면 카메라가 모두 화면 아래 내장될 것으로 내다봤다.
전자신문인터넷 양민하 기자 (mh.yang@etnews.com)
Copyright © 전자신문. 무단전재 및 재배포 금지.
- 구광모 회장 상대로 상속회복 청구 소송...LG "적법한 상속"
- 페이스·터치ID 모두 화면 아래로...'풀스크린' 아이폰 나올까
- 尹, 에너지안보 위해 해상안전 강화..."힘에 의한 평화"
- "이 사람 맞아요"...美서 '동명이인' 사진에 18년 억울한 옥살이
- 최신 배터리 기술 한자리…'인터배터리 2023' 15일 개막
- 두산에너빌리티, 뉴스케일파워 SMR 소재 제작
- 美 텍사스에 '머스크 유토피아' 건설?..."테슬라, 보링, 스페이스X 직원 전용"
- 후쿠시마 사고 12년…지진에도 안전한 한국형 원전 구축
- 前비서실장, 극단적 선택…이재명 “檢의 미친 칼질 용서 못해”
- 중소 SI·SW기업, 대기업 참여제한 폐지 반대 한목소리