'손목 위 주치의'에서 '귓속의 주치의·운동코치'로 변신..'히어러블' 열린다
전체 맥락을 이해하기 위해서는 본문 보기를 권장합니다.
무선 이어폰이 오디오 감상뿐 아니라 건강관리·운동보조 기구로 진화하고 있다.
기술의 첨단을 달리는 스타트업뿐 아니라 유명 이어폰 제조사들도 속속 기술을 확보하기 시작했다.
스마트 무선 이어폰은 음질이나 편의성이 확보된 이후 Δ청력보조 Δ체온, 심박 수 등 신체 정보 측정 Δ자세 분석 등의 방향으로 발전하고 있다.
현재는 무선이어폰을 통해 걷기·달리기 상태를 감지해, 자세 교정 코치를 해주는 기능만을 제공하고 있으나 차후 재활 및 진단 보조 기능으로 발전할 수 있다.
이 글자크기로 변경됩니다.
(예시) 가장 빠른 뉴스가 있고 다양한 정보, 쌍방향 소통이 숨쉬는 다음뉴스를 만나보세요. 다음뉴스는 국내외 주요이슈와 실시간 속보, 문화생활 및 다양한 분야의 뉴스를 입체적으로 전달하고 있습니다.
"귀는 피부 얇고 전정기관 있어 자세, 체온, 심박수 등 정확한 측정 가능"

(서울=뉴스1) 김승준 기자 = 무선 이어폰이 오디오 감상뿐 아니라 건강관리·운동보조 기구로 진화하고 있다. 기술의 첨단을 달리는 스타트업뿐 아니라 유명 이어폰 제조사들도 속속 기술을 확보하기 시작했다. '들을 수 있는'(히어러블) 기기 시장이 열리고 있다.
과거 기계 애호가들의 전유물이던 스마트 밴드·워치는 어느새 주변에서 착용한 사람을 쉽게 찾을 수 있게 됐다. '김연경 시계'로 이슈가 됐던 갤럭시워치4는 40만대 이상 판매되며, 애플워치와 함께 스마트 밴드·워치 업계의 대중화를 알렸다. 구글 역시 '구글 픽셀 워치'를 준비한다는 소식이 알려지는 등, 스마트 밴드 형태의 웨어러블(입을 수 있는) 기기로 건강 및 활동량 관리를 하는 사람들이 늘고 있다.
손목 위로 올라온 헬스케어 웨어러블 시장의 다음 격전장은 '귓속'이 될 전망이다. 특히 스마트 밴드와 달리 사람들이 이미 익숙한 무선 이어폰을 매개로 한다는 장점이 있다.
스마트 무선 이어폰은 음질이나 편의성이 확보된 이후 Δ청력보조 Δ체온, 심박 수 등 신체 정보 측정 Δ자세 분석 등의 방향으로 발전하고 있다.
청력보조는 내장 마이크로 주변의 특정 소리를 증폭 시켜 들려주는 식으로 이뤄진다. 보청기 역시 근본적인 원리는 유사하다. 이 기능은 이미 '주변 소리 듣기' 등으로 구현돼 활용되고 있다.
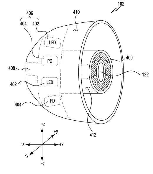
삼성전자는 2021년 12월 세계지적재산권기구에 이어폰을 이용한 생체 측정 기술 관련 특허를 제출했다. 이어폰에 장착된 LED 센서 및 데이터 처리 칩을 통해 산소포화도나 심박수 등을 측정한다는 아이디어다.

애플 역시 에어팟에 건강관리 기능을 연구하고 있는 것으로 알려졌다. 월스트리트저널(WSJ)은 지난해 10월 "애플은 청력강화, 체온 읽기, 자세 모니터링을 에어팟에 포함하는 방법을 연구하고 있다"고 보도했다.
박대인 비플렉스 이사는 "귀의 피부는 얇기 때문에, 여러 가지 센서를 넣었을 때 손목보다 측정에 유리하다. 또 전정기관이 있기 때문에 자세를 예측하는 데도 용이하다"며 "히어러블 시장은 더 커질 것으로 전망한다. 히어러블 디바이스는 음성 AI나 헬스케어, 스마트 홈 조작, 메타버스 활용 재활 운동 프로그램 등 다양한 기술 분야에 접목할 수 있다"고 설명했다.

비플렉스는 전정기관이 귀에 있다는 점에 착안해 머리의 움직임으로 보행·자세를 모니터링할 수 있는 이어폰 및 시스템을 연구·제작하는 스타트업이다. 인체의 전정기관은 중력 방향이나, 회전 상태 등을 감지하는 역할을 한다.
현재는 무선이어폰을 통해 걷기·달리기 상태를 감지해, 자세 교정 코치를 해주는 기능만을 제공하고 있으나 차후 재활 및 진단 보조 기능으로 발전할 수 있다.
박 이사는 "손목의 경우 몸의 자세 등과 상관없이 자유자재로 움직이기 때문에, 귀에서 보행이나 자세를 측정하는 것보다 오차가 많다. 일상 속에서 자세나 보행을 추적, 관리할 수 있게 되면, 운동 보조 뿐 아니라 어르신의 근감소증이나 근골격계 질환자의 재활 운동을 병원 밖에서도 도울 수 있다"며 "현재 관련 연구를 국내 병원과 공동으로 진행하고 있다"고 밝혔다.
seungjun241@news1.kr
Copyright © 뉴스1. All rights reserved. 무단 전재 및 재배포, AI학습 이용 금지.
- 개 산책시킨다더니 상간녀와 호텔 간 남편…키즈카페서 상간남 만난 아내
- 13년간 영안실서 女 나체 시신 수백장 찍은 日경찰…"성욕 채우려"
- "술집 주모와 바람난 남편 개처럼 잡은 신사임당…율곡도 아버지 무시"
- "치과서 다른 치아 잘못 깎아 발치 위기"…인지 기능 장애 환자의 호소
- "시장 바닥 장사 주제에"…닭꼬치 환불 받고 난동 부린 속초 '진상 남녀'[영상]
- "뭐 어쩌라고?"…보복운전 따지자, 아이들 앞에서 코뼈 부러지는 폭행[영상]
- "눈물 마를 날 없었는데"…연금복권 1등-2등 21억 당첨자 '제2 인생'
- "나 장항준이야, 주소 보내"…'왕사남 800만' 돌파 속 단역배우가 전한 미담
- "암 투병 시한부 아내 위해 '킬' 당해주실 분"…남편 부탁에 300명 몰렸다
- 80세 아빠 김용건 "아들 벌써 여섯 살, 좀 커서 잘 따라다녀"