태양광으로 충전하는 '갤럭시워치' 나올까
전체 맥락을 이해하기 위해서는 본문 보기를 권장합니다.
네덜란드 매체 렛츠고디지털이 28일(현지시간) 삼성전자가 미국특허청(USPTO)에 제출한 특허를 인용해 삼성이 태양광으로 스마트워치를 충전하는 기술을 개발 중이라고 보도했다.
보도에 따르면 삼성전자는 '다종 태양전지를 포함하는 전자장치'라는 이름의 특허를 2019년 미국 특허청에 제출했다.
또, 해당 특허의 제출시기가 2019년으로, 꽤 오래되었다는 점 올해 일부 문서가 추가되었다는 사실은 삼성이 여전히 이 기술을 개발하고 있음을 나타낸다고 해당 매체는 밝혔다.
이 글자크기로 변경됩니다.
(예시) 가장 빠른 뉴스가 있고 다양한 정보, 쌍방향 소통이 숨쉬는 다음뉴스를 만나보세요. 다음뉴스는 국내외 주요이슈와 실시간 속보, 문화생활 및 다양한 분야의 뉴스를 입체적으로 전달하고 있습니다.
(지디넷코리아=이정현 미디어연구소)이제 스마트워치를 태양광으로 충전하게 될까?
네덜란드 매체 렛츠고디지털이 28일(현지시간) 삼성전자가 미국특허청(USPTO)에 제출한 특허를 인용해 삼성이 태양광으로 스마트워치를 충전하는 기술을 개발 중이라고 보도했다. (▶자세히 보기 https://bit.ly/3zNyKcP)

보도에 따르면 삼성전자는 ‘다종 태양전지를 포함하는 전자장치'라는 이름의 특허를 2019년 미국 특허청에 제출했다. 해당 특허는 올해 초 일부 문서가 추가된 후 지난 16일 공개됐다.
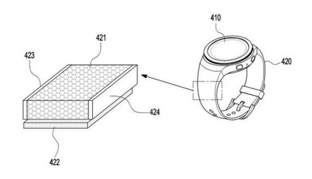
특허 문서에서 시계 스트랩에 양쪽에 두 개의 태양 전지가 탑재되어 있는 것을 확인할 수 있다. 이 태양광 전지를 통해 태양광 에너지를 충전해 배터리 수명을 늘릴 수 있다.

렛츠고디지털은 특허 문서를 기반으로 벌집구조의 태양 전지 배치를 보여주는 사진을 제작해 공개했다. 시계 케이스의 양쪽에 태양 전지를 배치하면 시계를 착용하는 동안 햇빛을 모아 전기 에너지로 변환시킬 수 있다. 이를 통해 사용자는 스마트워치의 배터리가 갑자기 방전되는 일을 막을 수 있을 것으로 보인다.
문서에 따르면 삼성전자는 광전변환을 할 수 있는 태양전지와 빛의 경로를 바꾸는 양자점이 있는 고분자를 사용한다. 태양 전지는 폴리머를 통과하는 빛을 포착하며 이 빛은 전기 에너지로 변환되는 데, 이 과정에서 파장 대역이 다른 다양한 유형의 태양 전지를 적용해 에너지 효율을 높이게 된다.
또, 렛츠고디지털은 “삼성전자가 QLED TV 등 퀀텀닷으로 얻은 지식을 스마트워치 등 다른 제품군에 적용할 가능성이 크다.”고 밝혔다.
또, 해당 특허의 제출시기가 2019년으로, 꽤 오래되었다는 점 올해 일부 문서가 추가되었다는 사실은 삼성이 여전히 이 기술을 개발하고 있음을 나타낸다고 해당 매체는 밝혔다.
이에 대해 IT매체 샘모바일은 “해당 특허가 표준 충전 포트를 대체할 만큼은 아니며 태양 전지를 통해 보조 전원을 제공하는 것으로 보인다.”며, 하지만, “웨어러블 기기를 훨씬 더 친환경적으로 만들 수 있고, 충전기 없어도 기기를 사용할 수 있는 방법을 제공할 수 있어 좋은 아이디어다”라고 평했다.
이정현 미디어연구소(jh7253@zdnet.co.kr)
Copyright © 지디넷코리아. 무단전재 및 재배포 금지.
- 구글, 픽셀 태블릿도 선보일까
- 구글, 갤럭시워치4 공개에 발맞춰 워치OS 앱 업데이트
- 웨어OS로 갈아탄 갤럭시워치4, 앱 호환성·헬스케어 기능 강화
- 로봇 청소기, 계단 오르고 서랍청소까지 하게 될까
- 차세대 애플워치, 인체 내 수분 함량도 측정할까
- 코스피, 사상 첫 6000선 마감…시총 5000조원 돌파
- '새로운 10년' 출발점에 다시 선 갤럭시S26, AI 혁신 베일 벗는다
- 공공 클라우드 빗장 풀린다…국정자원 이전 수요에 업계 촉각
- 최진일 이마트24, ‘체류형 점포’ 승부수...만년 4위 꼬리표 뗄까
- '왕과 사는 남자'는 어떻게 OTT 천장 뚫었나