"아이폰13으로 에어팟 충전한다"
전체 맥락을 이해하기 위해서는 본문 보기를 권장합니다.
애플이 아이폰으로 에어팟을 충전하는 '무선 배터리 공유' 기능을 신중하게 준비하고 있는 것으로 보인다.
당시 애플 전문매체 페이턴틀리애플은 "지난해 출시된 '아이폰12'가 자석형 무선 충전 기술 '맥세이프'를 도입한 것으로 비춰볼 때 차세대 맥북 프로, 아이패드 프로, 애플 워치, 아이폰, 에어팟 등 애플 기기 간의 무선 배터리 공유는 현실적인 시나리오처럼 보인다"고 평가한 바 있다.
이 글자크기로 변경됩니다.
(예시) 가장 빠른 뉴스가 있고 다양한 정보, 쌍방향 소통이 숨쉬는 다음뉴스를 만나보세요. 다음뉴스는 국내외 주요이슈와 실시간 속보, 문화생활 및 다양한 분야의 뉴스를 입체적으로 전달하고 있습니다.
애플이 아이폰으로 에어팟을 충전하는 '무선 배터리 공유' 기능을 신중하게 준비하고 있는 것으로 보인다. 실제로 아이폰에 해당 기능이 적용될 것이란 전망은 지난 2019년부터 반복적으로 제기됐지만 현재까지 실현되지 않은 상황이다.
올해 아이폰13(가칭)이 마침내 '역방향 무선 충전' 기능을 지원할 것이란 전망이 나왔다.
맥루머스 등 주요 외신은 4일(현지시간) 유명 IT팁스터(정보 유출가) 맥스 웨인바흐를 인용해 애플이 올가을 선보일 '아이폰13'이 더 큰 무선 충전 코일을 탑재, 충전 속도를 높이고 역방향 무선 충전 기능을 지원할 것이라고 보도했다.
웨인바흐는 더 커진 무선 충전 코일이 △발열 개선 △더 높은 W(와트) 충전 △역방향 무선 충전 기능 등에 사용될 수 있다고 전했다. 전작 '아이폰12' 시리즈는 최대 15W 맥세이프 무선 충전을 지원한다.
역방향 무선 충전은 일종의 배터리 공유 기능이다. 아이폰 자체가 무선 충전 패드가 되는 셈. 사용자는 에어팟 등 다른 기기를 아이폰 뒷면에 올려 충전할 수 있다. 이는 삼성전자 갤럭시 스마트폰 사용자에게는 이미 익숙한 기능이다. 삼성은 지난 2019년 '갤럭시S10'부터 역방향 무선 충전 코일을 탑재했다.

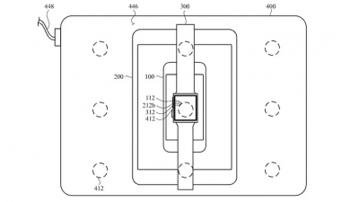
올해 아이폰13 무선 배터리 공유 지원이 실현될까? 지난 1월엔 주목할 만한 특허가 공개됐다.
맥북으로 여러 애플 기기를 동시에 충전할 수 있는 '전자 기기 간 유도 충전' 특허다. 애플이 취득한 특허 문서에는 맥북 트랙패드와 팜레스트 주변으로 충전 코일을 배치해 그 위에 아이폰, 애플워치 등을 올려 무선 충전하는 기술이 설명됐다.
다단계 충전도 흥미롭다. 맥북으로 아이패드를, 아이패드는 아이폰을, 아이폰은 애플워치를 충전하는 식으로 애플 기기 여러 개를 겹겹이 쌓았다. 맥북에만 충전기를 연결하면 모든 애플 기기를 충전할 수 있다.

지난해 아이폰12와 함께 '맥세이프'라는 새로운 무선 충전 방식이 등장한 만큼, 올해는 더 다양한 무선 충전 기술이 적용될 것이란 기대가 커지고 있다.
당시 애플 전문매체 페이턴틀리애플은 "지난해 출시된 '아이폰12'가 자석형 무선 충전 기술 '맥세이프'를 도입한 것으로 비춰볼 때 차세대 맥북 프로, 아이패드 프로, 애플 워치, 아이폰, 에어팟 등 애플 기기 간의 무선 배터리 공유는 현실적인 시나리오처럼 보인다"고 평가한 바 있다.
반면 블룸버그통신은 지난 6월 애플이 아이폰이 아닌 태블릿 '아이패드 프로'부터 역방향 무선 충전 기능을 제공할 것이라고 전망했다. 보도에 따르면 애플은 내년 신형 아이패드 프로에 무선 충전을 지원, 배터리 공유 기능도 탑재할 계획이다. 업계에서는 무선 배터리 공유 기능이 기기 배터리를 크게 소모하기 때문에, 아이폰보다 배터리가 더 큰 아이패드 프로에 탑재되는 것이 더 합리적이라는 판단이다.
한편 차기 아이폰은 전작과 마찬가지로 △6.1인치 아이폰13 △5.4인치 아이폰13미니 △6.1인치 아이폰13프로 △6.7인치 아이폰13프로맥스 등 4가지 모델로 출시될 것으로 알려졌다. 업계는 과거 애플 이벤트 일자를 고려해 공개는 오는 9월 14일, 출시는 같은 달 24일로 예상하고 있다.
전자신문인터넷 양민하 기자 (mh.yang@etnews.com)
Copyright © 전자신문. 무단전재 및 재배포 금지.
- 전동화 속도 내는 기아, 2030년 판매 목표 160만대로 상향
- 부산 북항, 세계엑스포 준비 완료…한국 최첨단 기술 집약
- [비상경제장관회의] “올해 13조 신규 민자사업 발굴…경기 하방 선제 대응”
- 한양대, 학부 학점과정에 국내 대학 최초 '오픈배지' 도입
- PI첨단소재, 美 공장 설립 시동…중국산 대체 수요 잡는다
- 차세대 아이오닉, 실리콘 10% 음극재 배터리 탑재
- 첫 민간 주도 지능형 스마트홈 전략 나온다
- 대구, 흩어진 행정데이터 통합·관리
- [제조혁신 이노비즈]로봇앤컴 "IT로 병원·수리·농업 혁신"
- [제조혁신 이노비즈]디지털 의료 플랫폼기업 로봇앤컴