"폴더블 아이폰, 구부려 여러 각도로 사진 찍는다"
전체 맥락을 이해하기 위해서는 본문 보기를 권장합니다.
애플이 미국 특허청에 '구부릴 수 있는 전자기기용 카메라 시스템'이라는 새로운 특허를 출원했다고 IT매체 폰아레나가 25일(현지시간) 보도했다.
특허 문서에서 애플은 "전자기기는 유연한 직물, 유연한 폴리머 또는 기타 유연한 재료로 만들어진 유연한 외관 케이스를 가질 수 있고, 유연한 하우징에 카메라를 장착해 각각의 카메라가 다양한 방향에서 사진을 촬영할 수 있다"고 밝혔다.
이 글자크기로 변경됩니다.
(예시) 가장 빠른 뉴스가 있고 다양한 정보, 쌍방향 소통이 숨쉬는 다음뉴스를 만나보세요. 다음뉴스는 국내외 주요이슈와 실시간 속보, 문화생활 및 다양한 분야의 뉴스를 입체적으로 전달하고 있습니다.
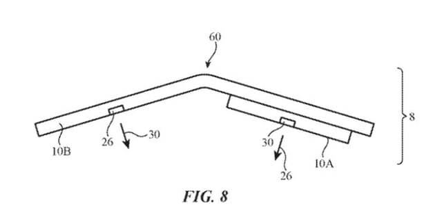
(지디넷코리아=이정현 미디어연구소)애플이 미국 특허청에 '구부릴 수 있는 전자기기용 카메라 시스템'이라는 새로운 특허를 출원했다고 IT매체 폰아레나가 25일(현지시간) 보도했다.

특허 문서에서 애플은 “전자기기는 유연한 직물, 유연한 폴리머 또는 기타 유연한 재료로 만들어진 유연한 외관 케이스를 가질 수 있고, 유연한 하우징에 카메라를 장착해 각각의 카메라가 다양한 방향에서 사진을 촬영할 수 있다”고 밝혔다.

또, “하우징을 구부려 카메라의 방향을 변경해 파노라마 사진 또는 3차원 이미지를 캡처 할 수 있다”고 덧붙였다.
특허 문서에 따르면, 폴더블 기기용 카메라는 유선 또는 무선 기술을 사용해 핸드셋과 연결된다. 이는 카메라가 제품에 내장되는 것이 아닌 스마트폰 케이스에 자리잡을 수 있다는 것을 의미한다고 폰아레나는 전했다.

스마트폰 케이스는 제품에 탈부착이 가능하기 때문에 스마트폰 케이스에 카메라가 탑재된다면 사용자가 사진이나 동영상을 찍을 때 창의력을 발휘할 수 있다고 해당 매체는 평했다.
애플은 최근 폴더블 아이폰 출시를 위해 초기 작업에 착수한 것으로 알려졌다. 애플은 최근 폭스콘과 함께 2개의 폴더블 아이폰을 테스트했으며 내부 내구성 테스트를 통과했다고 알려졌다.
테스트를 거친 첫 번째 폴더블 아이폰은 두 개의 디스플레이가 힌지로 연결된 듀얼 스크린 모델이며, 나머지 하나는 삼성 갤럭시Z플립, 모토로라 RAZR과 같은 위아래로 접는 폴더블폰으로 알려졌다.
이정현 미디어연구소(jh7253@zdnet.co.kr)
Copyright © 지디넷코리아. 무단전재 및 재배포 금지.
- "애플, 폴더블 아이폰 초기 작업 시작”
- 폴더블 아이폰 시제품 2종, 애플 내구성 테스트 통과
- "애플, 위아래로 접는 폴더블 아이폰 개발 중”
- 6.1인치 아이폰SE 플러스, 어떻게 나올까
- 애플, 이탈리아서 '아이폰 성능 고의 저하'로 피소
- 삼성전기·LG이노텍, 반도체 훈풍에 패키지 기판 라인 가동률↑
- 몇 달 만에 매출 수조원…돈방석 앉는 AI 코딩 스타트업
- [ZD브리핑] 슈퍼 주총 시즌 개막…넷플릭스, BTS 컴백 공연 중계
- [써보고서] 엿보기 완벽 차단에 짐벌급 수평 유지...갤S26 울트라의 디테일
- [AI 리더스] 한국 온 핀란드 기술특사 "국가 간 AI·양자 협력 키워야"