20만번 펴는 폴더블폰, 어떤 부품 들어갔나
(지디넷코리아=박영민 기자)모바일 사용자에게 새로운 경험과 편의성을 제공할 폴더블 스마트폰이 마침내 윤곽을 드러내면서, 침체된 모바일 시장 뿐 아니라 부품 업계에도 구세주가 될지 주목된다.
폴더블 스마트폰의 차별점은 접히는 디스플레이 패널과 필름, 배터리, 기판 등 핵심 부품이 될 전망이다. 내년 초께 등장할 신제품은 삼성전자에 패널을 공급하는 삼성디스플레이를 주축으로 기판(삼성전기), 배터리(삼성SDI) 등 부품 수직계열화의 완성형이 될 것이라는 평가다.

■ 윤곽 드러난 폴더블…"인폴딩·외부 디스플레이"
삼성전자는 7일(현지시간) 미국 샌프란시스코 모스콘 센터에서 열린 '삼성 개발자 컨퍼런스(SDC)'에서 폴더블 패널인 '인피니티 플렉스 디스플레이(Infinity Flex Display)'를 최초 공개했다.
인피니티 플렉스 디스플레이는 화면이 안 쪽 방향으로 접히는 인폴딩(In-Folding) 방식을 택했다. 화면을 펼치면 7.3인치, 접으면 4.6인치 크기다. 외부에도 별도의 디스플레이가 장착돼 있어 접었을 때에도 내부 정보를 확인할 수 있다.
이날 저스틴 데니슨 삼성전자 미국 법인 상무는 인피니티 플렉스 디스플레이 개발 과정에서 두 가지를 집중적으로 고려했다고 강조했다. 패널을 반으로 접은 상태에서도 얇다고 느낄 수 있도록 디스플레이 두께를 획기적으로 줄이는 것과 커버 윈도의 글라스를 대체하는 신소재를 개발해 신제품에 적용하는 것이다.
핵심 부품은 삼성디스플레이가 공급하는 플렉시블 능동형 유기발광다이오드(AMOLED)다. 플렉시블 AMOLED는 자유롭게 구부릴 수 있어 폼팩터 혁신이 가능한 부품이다. 삼성디스플레이는 지난 7년간 연구개발(R&D)을 통해 패널 두께를 줄이는 방법을 개발해 온 것으로 알려졌다. 이 분야 시장 점유율도 약 98%에 이른다.
부품 업계 한 관계자는 "폴더블은 접히는 특성상 디스플레이를 수만번 접었다 펴도 불량이 발생하면 안 된다. 접을 수 있는 한계 기준은 약 20만 번이다"라며 "삼성 입장에선 이러한 점이 가장 큰 고민이었을 것이고, 개발 과정에서 신중을 거듭해 안정적인 수율을 확보한 것으로 보인다"고 설명했다.

■ 필름·힌지·배터리…스마트폰 부품도 확 바뀐다
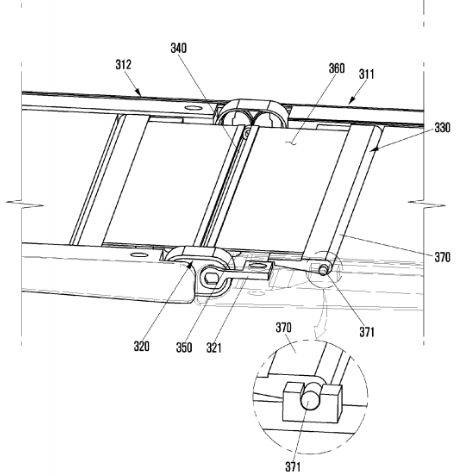
패널이 접히는 부분에서 경첩 역할을 하는 힌지(Hinge)도 두께를 결정짓는 요소다. 힌지는 두 개의 패널을 접고 펼치는 일종의 '이음새'로, 폴더폰에도 탑재돼 왔다.
다만, 폴더블 스마트폰의 힌지는 단순히 접고 펼치는 용도였던 폴더폰의 힌지와는 쓰임새가 확연히 다르다. 스마트폰을 접었을 때 양 패널이 맞닿은 상태에서 충격을 방지하는 기술이 새롭게 적용된다. 또 패널을 단계별로 펼칠 수 있도록 별도의 기어도 탑재됐을 것으로 업계는 내다봤다.
폴더블 패널의 핵심인 필름 소재로는 '투명폴리이미드 필름(CPI·Clear polyimide)'이 채택된 것으로 파악된다. CPI는 유리와 비슷한 표면에도 빛이 투명하게 투과되는 성질과 구부리고 접었다 펼 수 있는 특성이 있다. 유리 소재인 기존 커버윈도를 대체할 수 있는 유일한 소재여서 데니슨 상무가 언급한 '커버 윈도의 글라스를 대체하는 신소재'도 바로 이 CPI일 것으로 추정된다.
배터리에도 큰 변화가 일어날 전망이다. 디스플레이 크기가 큰 만큼, 대용량의 배터리가 탑재되어야 해서다. 폴더블 스마트폰 배터리 용량의 구체적인 용량 수치는 아직 알려지지 않았다. 다만 디스플레이 크기가 6.4인치인 갤럭시노트9의 배터리 용량이 4천mAh이기 때문에, 업계는 폴더블폰에는 이보다 큰 4천 밀리암페어(mAh) 이상이 채택됐을 것으로 보고 있다.

■ '폴더블' 부품사들 이달부터 삼성전자에 공급 시작
삼성 폴더블 스마트폰은 내년 1월 미국 뉴욕에서 열리는 CES나 2월 스페인에서 개최되는 모바일월드콩글레스(MWC 2019)에서 발표될 가능성이 높다.
스마트폰 양산을 위해서는 통상 2~3개월 전부터 부품 공급이 진행된다. 업계에 따르면 삼성전자는 협력사들로부터 폴더블 스마트폰에 탑재되는 부품을 이달부터 공급받기 시작해, 현재 대량 양산할 수 있을 정도의 생산 수율을 확보했다.
주요 부품 공급사로는 ▲삼성디스플레이(플렉시블 능동형 OLED) ▲삼성SDI(배터리·디스플레이용 접착제) ▲삼성전기(경연성 인쇄회로기판·Rigid Flexibler PCB, 적층세라믹커패시터·MLCC) 등 전자 계열사들을 비롯해 ▲KH바텍(힌지) ▲코오롱인더(투명폴리이미드 필름·CPI) ▲SKC(투명PI) 등이 꼽힌다. 특히 CPI는 일본 스미토모 화학으로부터 소규모 공급이 이뤄질 가능성도 높다.
김동원 KB증권 연구원은 "삼성전자는 폴더블 스마트폰 대량 양산이 가능한 생산 수율을 확보한 것으로 추정돼 향후 실수요 강도 여부에 따라 출하량이 좌우될 것으로 보인다"며 "특히 삼성전자는 글로벌 시장에서 유일하게 폴더블 스마트폰 핵심 부품의 공급망을 삼성디스플레이를 중심으로 내재화하고 있어 D램과 같은 독점적 시장지위 확보가 기대된다"고 내다봤다.
박영민 기자(pym@zdnet.co.kr)
Copyright © 지디넷코리아. 무단전재 및 재배포 금지.
- [포토] 깜짝 공개 삼성 폴더블폰 자세히 보기
- 삼성 폴더블폰 폼팩터 공개..인폴딩 방식
- 삼성 폴더블폰에 적용될 새 UI 베일 벗었다
- 삼성 폴더블폰은 '펴는 폰'이다
- "폴더블 OLED 시장, 4년간 50배 이상 성장"
- "삼성 폴더블폰 '갤럭시 F', 내년 1월 공개"
- 우주인 4명 태운 아르테미스 2호, 달 향해 발사…한국 큐브위성도 실려
- 트럼프 "2~3주간 이란에 대대적 공격...종전 협상도 진행"
- [단독] 삼성SDS, 국내 첫 국산 NPUaaS 7월 출격…정부 'AI 주권' 정책 추진 앞장
- [르포] 배터리 증설 멈춰도 장비 혁신은 지속…미래 준비하는 CIS 공장