아마존 패션사업 야망 "재단사 로봇 특허 출원"
전체 맥락을 이해하기 위해서는 본문 보기를 권장합니다.
아마존이 형광 염료를 사용해 맞춤형 옷을 만들 수 있는 재단사 로봇 특허를 출원했다.
아마존은 사용자들이 옷을 구매하기 전에 미리 관심 가는 아이템을 입어볼 수 있는 '프라임 워드로브(Prime Wardrobe)' 서비스를 내놓기도 했으며, '드래곤 보트(Dragon Boat)'라 불리는 프로젝트를 통해 사용자 수요에 따라 자동화된 옷 생산-유통 시스템을 구축하겠다는 계획을 밝히고 관련 특허 확보에 나서고 있다.
이 글자크기로 변경됩니다.
(예시) 가장 빠른 뉴스가 있고 다양한 정보, 쌍방향 소통이 숨쉬는 다음뉴스를 만나보세요. 다음뉴스는 국내외 주요이슈와 실시간 속보, 문화생활 및 다양한 분야의 뉴스를 입체적으로 전달하고 있습니다.
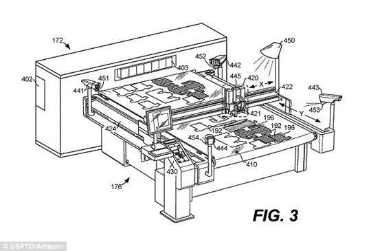
(지디넷코리아=이정현 미디어연구소)아마존이 형광 염료를 사용해 맞춤형 옷을 만들 수 있는 재단사 로봇 특허를 출원했다.
IT매체 긱와이어는 18일(현지시간) 아마존이 미국 특허청에 신청한 문서를 인용해 아마존의 재단사 로봇 특허를 소개했다.
■ 형광 잉크 사용해 맞춤형 옷 재단

이 로봇 시스템은 형광 잉크를 사용해 옷을 빠르게 자르고, 재단하고 프린트 하는 능력을 갖췄다. 여기에 사용되는 형광 잉크는 평상 시에는 보이지 않다가 자외선으로 비추면 보이는 잉크로, 맞춤형 옷을 재단할 때 사용자의 신체 사이즈에 맞게 옷을 재단하기 위해 사용된다.
이 특허는 2016 년에 제출된 것으로, 문서에 따르면 “(형광 잉크로 생긴) 반사를 이미지 센서로 포착해 옷감을 자르는 지침을 만들 수 있다”고 나와있다. 특허를 신청한 아마존 루베 사파비 아민파우어(Rouzbeh Safavi Aminpour)는 “이 기술은 봉제 작업자나 자동 봉제시스템에 적용할 수 있다”고 밝혔다. 그는 예전에도 맞춤형 의류 생산을 위한 컴퓨터 제어 및 봉제 시스템과 관련한 특허를 취득한 적이 있다.

이 시스템의 장점은 형광 잉크로 옷감을 자르거나 재단하는 지침을 줄 수 있기 때문에, 사용자 맞춤형으로 재단할 수도, 옷감에 직접 프린트 할 수도 있다는 점이다. 또, 옷감에 사용되는 천 뿐만 아니라 종이나 플라스틱, 가죽 등에도 사용될 수 있기 때문에 신발, 스카프, 장갑, 모자, 가방, 등 다양한 제품으로 확장이 가능하다.
■ 패션 사업에 대한 아마존의 야망
아마존은 최근 AI 기술을 활용해 최신 트렌드를 반영한 옷을 디자인하고, 이를 자동화된 시스템으로 제작해 유통하려는 큰 그림을 그리고 있다.

지난 5일 아마존은 옷을 직접 입지 않아도 옷을 입은 모습을 재현해 주는 가상현실 거울 특허를 취득했다. 이 거울은 빛을 반사, 투과할 수 있는 특수 거울과 디스플레이 카메라 프로젝터를 통해 사용자의 얼굴과 눈을 인식해 모델을 만들고, 화면에 가상의 장면을 표시하는 방식이다.

또, 작년에는 알렉사와 카메라를 탑재해 사용자의 패션 상태를 체크하는 서비스 ‘에코 룩(Echo Look)’을 출시했다. 이 제품은 360도 3D 이미지를 스캔할 수 있는 카메라와 머신러닝 기술을 통해 어떤 옷이 어울리는지 조언해준다.
아마존은 사용자들이 옷을 구매하기 전에 미리 관심 가는 아이템을 입어볼 수 있는 '프라임 워드로브(Prime Wardrobe)' 서비스를 내놓기도 했으며, '드래곤 보트(Dragon Boat)'라 불리는 프로젝트를 통해 사용자 수요에 따라 자동화된 옷 생산-유통 시스템을 구축하겠다는 계획을 밝히고 관련 특허 확보에 나서고 있다.
이정현 미디어연구소(jh7253@zdnet.co.kr)
Copyright © 지디넷코리아. 무단전재 및 재배포 금지.